EasyManua.ls Logo

Westerbeke 6.5 MCG - Page 82

Westerbeke 6.5 MCG
90 pages
Print Icon
To Next Page IconTo Next Page
To Next Page IconTo Next Page
To Previous Page IconTo Previous Page
To Previous Page IconTo Previous Page
Loading...
~~
CS.rfi
:::s (I)·
cam~
....a.
Ram
~~
~
Q~
iil
Ill'
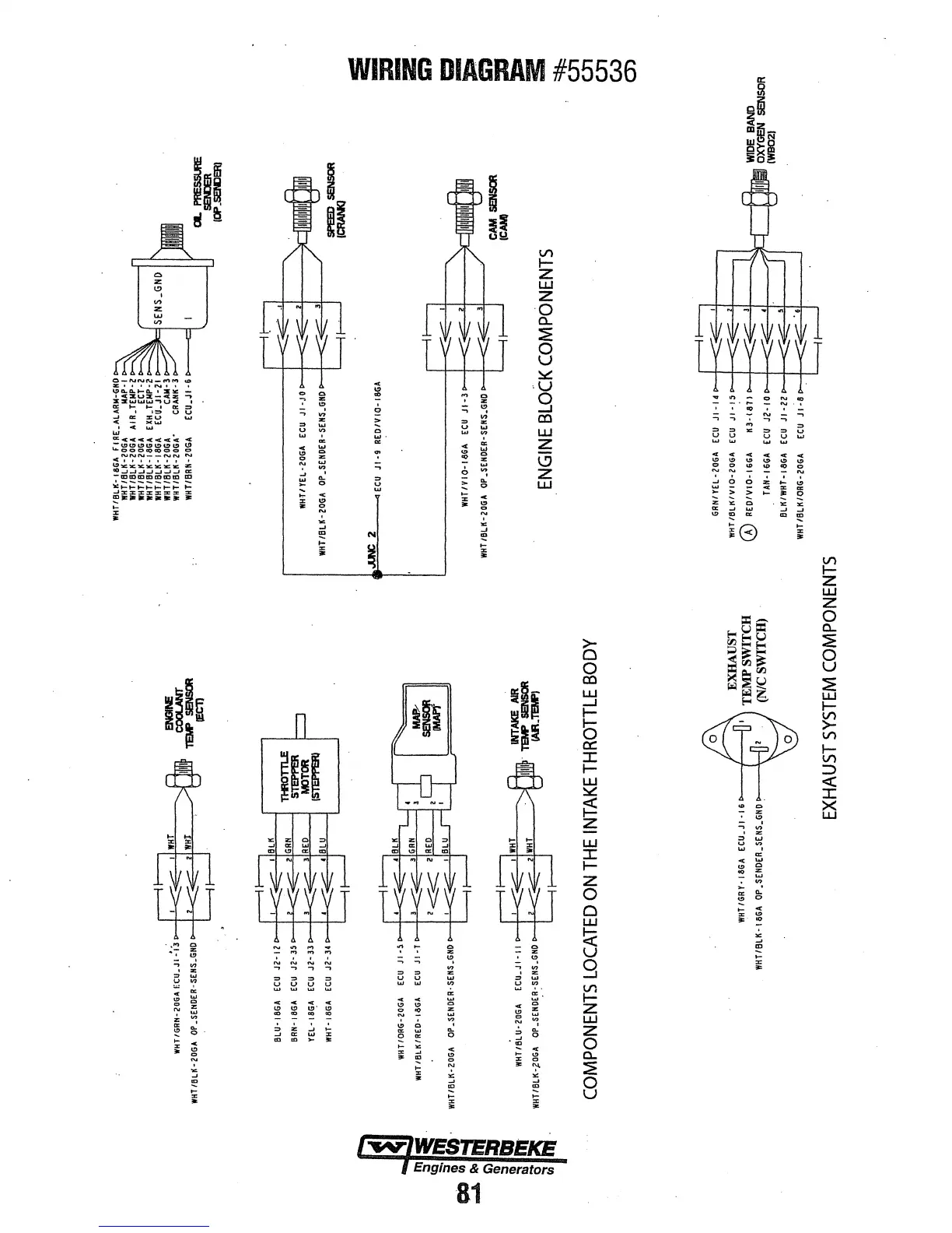
WHTIGRH-~OGAECU.JI_'I·~~~
WHT/6LK·20GA
OP.SEHDER·SEHS.GHDt~
ENGIN!
COCLANT
TEr.P
SENSOR
IEC11
8LU· I
8GA
SRH·
18GA
YEL·IB~A
WHT·I8GA
WHT/ORG·ZOGA
WHTIBLK·ZOI>A
YIHT/BLK·;!OGA
..
Ti'IIOTTLE
STEPPER
MOTOR
ISTEPPERI
INTAKE
AIR
ill!llr
TEM'
SENSOR
(AR_TEM"J
COMPONENTS
LOCATED
ON
THE
INTAKE
THROTTLE
BODY
WHTIGRY·I8GA
ECU.JI-16:
~
I
WKTIBLK·IBGA
OP
.S[NDER.SENS.GND: [ n
EXHAUST
I \
TEMP
SWITCH
(N/C
SWITCH)
WHTIBLII·
186A riRE.ALARII·GHD
l!HT
/BLK·ZOGA
IIAP· I
IHTIBLK·ZOGA AIR.T£MP·Z
WHTIBLK·ZOGA
ECT·Z
WHTIBLK·18GA
EXH.TEMP·Z
WHTIBLK·I8GA
ECU.JI-21
~
WHT/BlK·2DGA
CAII·l
WHTIBLK·ZOGA• CRANK-3
WHT
IBRH·
ZOGA
ECU.J
6 t>----t::i
CL
PRESSlltE
SENER
lOP
.SCNJE!IU
WHHYEl·ZOGA
ECU
JI·JO~
2
1
~~lhllliffiit}ll
WHT/BLK·ZOGA
OP.SENDER·SEHS.GHD~~E----"-
3
1--
---'·
.M\IC 2
HCU
Jl·9
RED/VI!!·
18GA
WHTIVIO·IBGA
ECU
Jl-3~
:1
~mijl)ill()lij
WHT1Bl,.K·2QGA
OP.SENDER·SEI!S.GND~
.
..
ENGINE
BLOCK
COMPONENTS
GRNI
YEl
ZOGA
ECU
Jl•ld
WHT/8LK/V10•20GA
ECU
Jl•l3
a
z
Ci)
=
-
>.
G1
i
:::t:t::
c:.TI
01
c:.TI
c.v
en
0 R£D/V10·16GA
Kl-1811
TAN·IGGA
ECU
JZ·IO
~~
;!
~
i!+~SOR
8LKIWHT·CBGA
ECU
Jl·22
WHTIBLK/ORG·
20GA
ECU
JC
·8
EXHAUST
SYSTEM
COMPONENTS

Table of Contents

Related product manuals