EasyManua.ls Logo

Yaesu VX-3E - Automatic Power-On Feature; Busy Channel Lock -Out Bclo

Yaesu VX-3E
132 pages
Print Icon
To Next Page IconTo Next Page
To Next Page IconTo Next Page
To Previous Page IconTo Previous Page
To Previous Page IconTo Previous Page
Loading...
VX-3R/E OPERATING MANUAL98
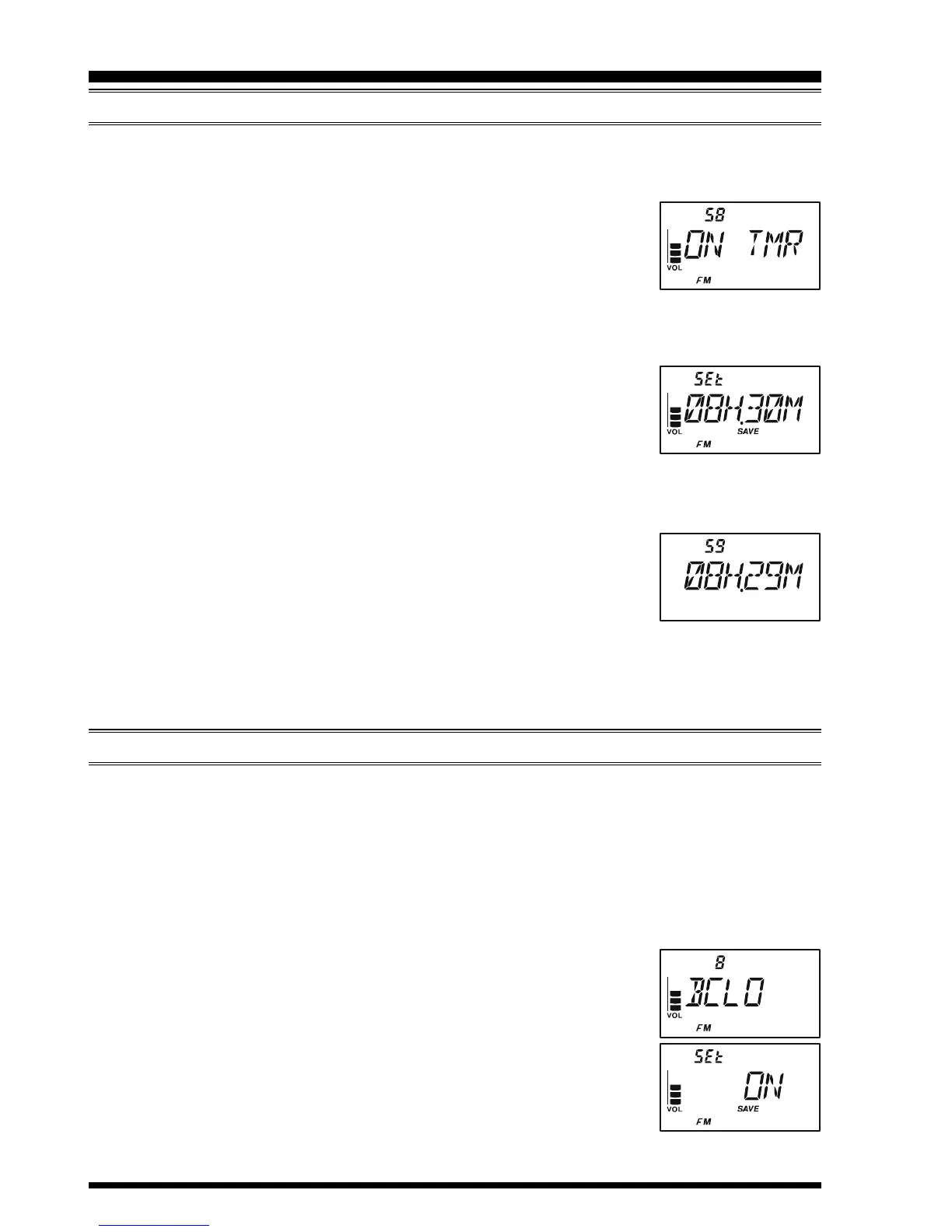
AUTOMATIC POWER-ON FEATURE
The VX-3R/E also includes the capability to turn itself on after a programmed time interval.
1. Press and hold in the
[
TXPO
]
key for one second to enter the Set mode.
2. Rotate the DIAL knob to select Set Mode Item 58: ON TMR.
Note: Do not forget to pull the DIAL knob to rotate the DIAL
knob.
3. Press the
[
TXPO
]
key momentarily to enable adjustment of this
Set Mode Item.
4. Rotate the DIAL knob to set the desired time after which the radio will automatically
turn on. Note: that is not the time of day when the radio will turn
on; it is the number of hours and minutes until the radio turns on.
The available selections are 10 minutes - 24 hours (10 minute/
step).
5. When you have made your selection, press the PTT switch to save the new setting and
exit to normal operation.
When the radio is turned off, this activates the Automatic Power-On
feature; a countdown timer in the display will show the time remain-
ing until automatic switch-on.
You may cancel the Automatic Power-On feature (turn off the radio), by pressing and holding
the POWER switch for one second while the Automatic Power-On feature is engaged.
The Automatic Power-On feature will be ignored if the Wakeup feature is activated.
BUSY CHANNEL LOCK-OUT
(
BCLO
)
The BCLO feature prevents the radio’s transmitter from being activated if a signal strong
enough to break through the “noise” squelch is present. On a frequency where stations using
different CTCSS or DCS codes may be active, BCLO prevents you from disrupting their
communications accidentally (because your radio may be muted by its own Tone Decoder).
The default setting for the BCLO is OFF. This is the procedure to activate the BCLO:
1. Press and hold in the
[
TXPO
]
key for one second to enter the Set mode.
2. Rotate the DIAL knob to select Set Mode Item 8: BCLO.
Note: Do not forget to pull the DIAL knob to rotate the DIAL knob.
3. Press the
[
TXPO
]
key momentarily to enable adjustment of this
Set Mode Item.
4. Rotate the DIAL knob to set this Set Mode Item to “ON” (thus
activating the BCLO feature).
5. When you have made your selection, press the PTT switch to
save the new setting and exit to normal operation.
MISCELLANEOUS SETTING

Table of Contents

Related product manuals