EasyManua.ls Logo

Yamaha F100C - Page 161

Yamaha F100C
345 pages
Print Icon
To Next Page IconTo Next Page
To Next Page IconTo Next Page
To Previous Page IconTo Previous Page
To Previous Page IconTo Previous Page
Loading...
60C5D11
6-14
1
2
3
4
5
6
7
8
9
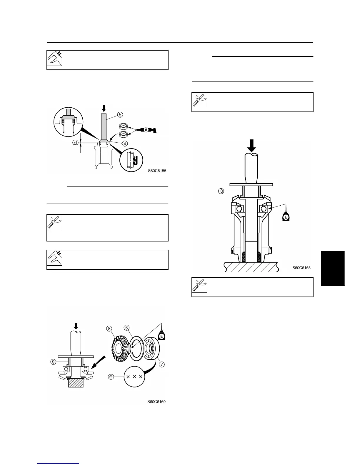
2. Apply grease to the new oil seals, and
then install them into the propeller shaft
housing to the specified depth.
NOTE:
Install an oil seal halfway into the propeller
shaft housing, then the other oil seal.
3. Install the thrust washer
6
and ball bear-
ing
7
to the reverse gear
8
using a
press.
NOTE:
Install the ball bearing with the manufacture
identification mark
e
facing outward (propel-
ler side).
4. Install the reverse gear assembly to the
propeller shaft housing using a press.
Depth
c
:
24.7525.25 mm (0.970.99 in)
Bearing outer race attachment
4
:
90890-06628
Driver rod LS
5
: 90890-06606
Depth
d
:
4.755.25 mm (0.190.21 in)
Bearing inner race attachment
9
:
90890-06661
Bearing inner race attachment
0
:
90890-06661
Propeller shaft housing (F100B)

Table of Contents

Related product manuals