EasyManua.ls Logo

Yamaha F100C - Assembling the Propeller Shaft Assembly; Assembling the Propeller Shaft Housing

Yamaha F100C
345 pages
Print Icon
To Next Page IconTo Next Page
To Next Page IconTo Next Page
To Previous Page IconTo Previous Page
To Previous Page IconTo Previous Page
Loading...
LOWR
Lower unit
6-41
60C5D11
2. Check the dog clutch and shift slider for
cracks or wear. Replace if necessary.
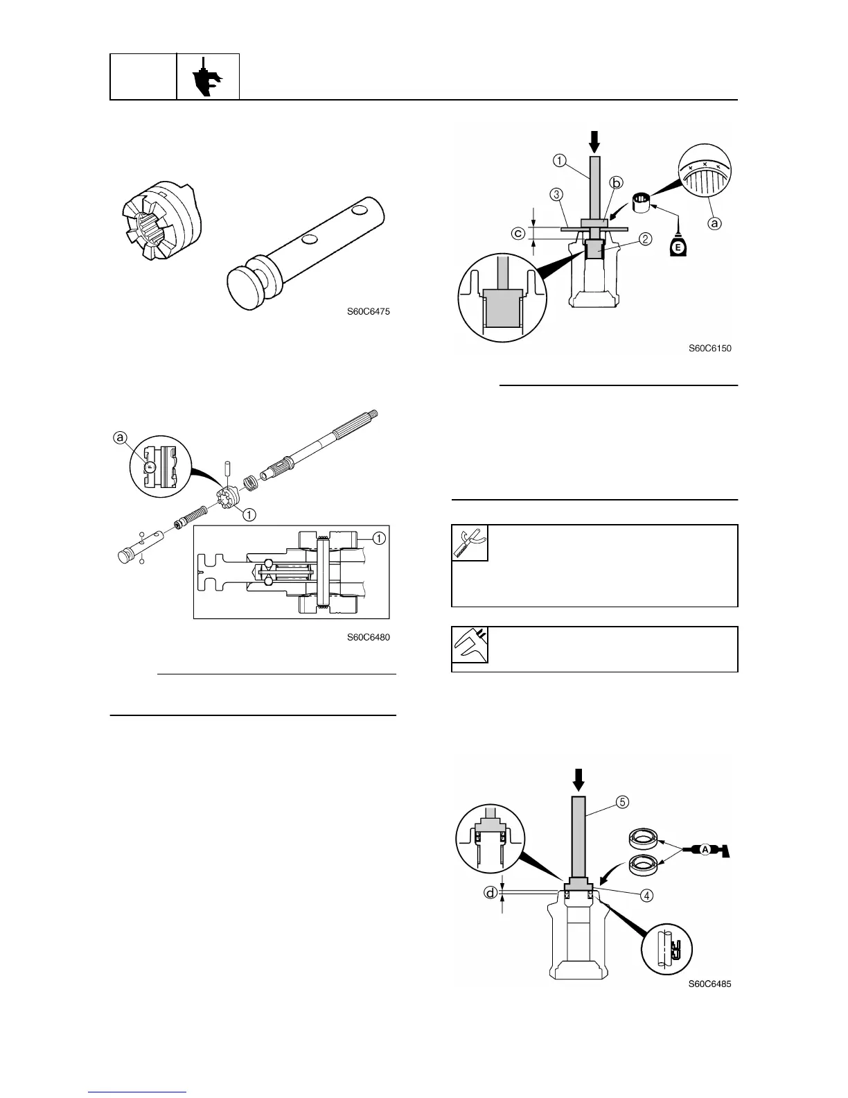
Assembling the propeller shaft
assembly
1. Install the dog clutch as shown.
NOTE:
Install the dog clutch
1
with the F mark
a
facing toward the shift slider.
Assembling the propeller shaft
housing
1. Install the needle bearing into the propel-
ler shaft housing to the specified depth.
NOTE:
Install the needle bearing with the manufac-
ture identification mark
a
facing toward the
oil seal (propeller side).
When using the driver rod, do not strike the
special tool in a manner that will force the
stopper
b
out of place.
2. Apply grease to the new oil seals, and
then install them into the propeller shaft
housing to the specified depth.
Driver rod SS
1
: 90890-06604
Needle bearing attachment
2
:
90890-06612
Bearing depth plate
3
: 90890-06603
Depth
c
:
25.025.5 mm (0.981.00 in)

Table of Contents

Related product manuals