EasyManua.ls Logo

Yamaha F100C - Page 48

Yamaha F100C
345 pages
Print Icon
To Next Page IconTo Next Page
To Next Page IconTo Next Page
To Previous Page IconTo Previous Page
To Previous Page IconTo Previous Page
Loading...
SPEC
Specifications
2-13
60C5D11
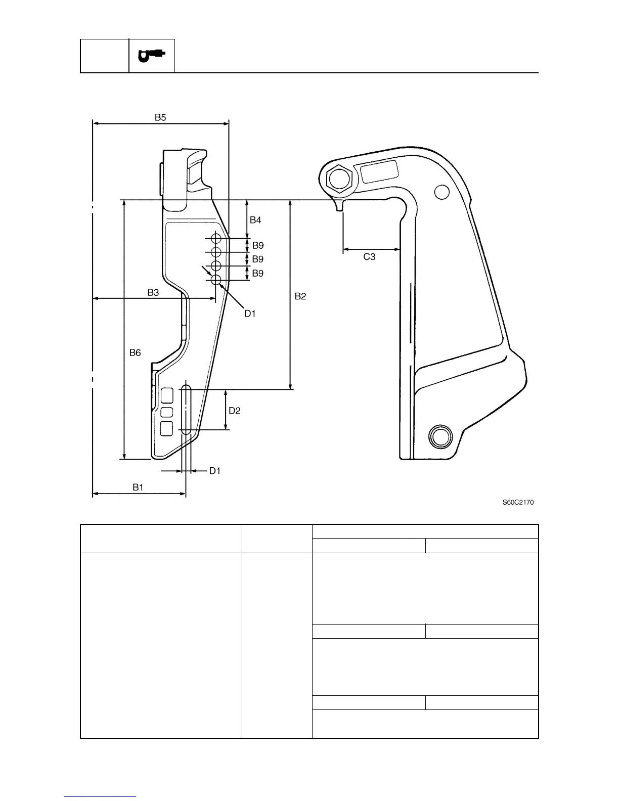
Clamp bracket
Symbol Unit
Model
F100BET F100CET
B1 mm (in) 125.4 (4.9)
B2 mm (in) 254 (10.0)
B3 mm (in) 163.5 (6.4)
B4 mm (in) 50.8 (2.0)
B5 mm (in) 180 (7.1)
B6 mm (in) 367 (14.4) 347 (13.7)
B7 mm (in)
B8 mm (in)
B9 mm (in) 18.5 (0.7)
C2 mm (in)
C3 mm (in) 82 (3.2) 80 (3.1)
D1 mm (in) 13 (0.5)
D2 mm (in) 55.5 (2.2)

Table of Contents

Related product manuals