EasyManua.ls Logo

Yamaha F100X - Page 114

Yamaha F100X
463 pages
Print Icon
To Next Page IconTo Next Page
To Next Page IconTo Next Page
To Previous Page IconTo Previous Page
To Previous Page IconTo Previous Page
Loading...
4-5
E
FUEL
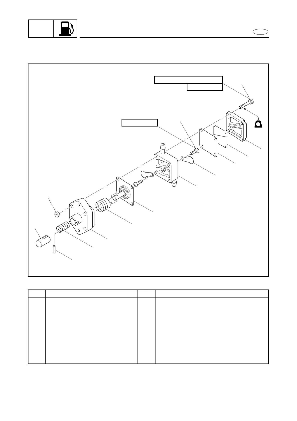
FUEL PUMPS
EXPLODED DIAGRAM
Step Procedure/Part name Q’ty Service points
8 Fuel pump valve 2
9 Plunger 1
10 Pin 1
11 Spring 1
12 Diaphragm 1
13 Spring 1
14 Fuel pump cover 1
Reverse the disassembly steps for
installation.
3 Nm (0.3 m
kg, 2.2 ft
Ib)
5 × 35 mm
4 × 8 mm
1
2
3
4
5
6
7
8
9
10
11
12
13
14
LT
LT
572572

Table of Contents

Related product manuals