EasyManua.ls Logo

Yamaha F100X - Valves

Yamaha F100X
463 pages
Print Icon
To Next Page IconTo Next Page
To Next Page IconTo Next Page
To Previous Page IconTo Previous Page
To Previous Page IconTo Previous Page
Loading...
5-26
E
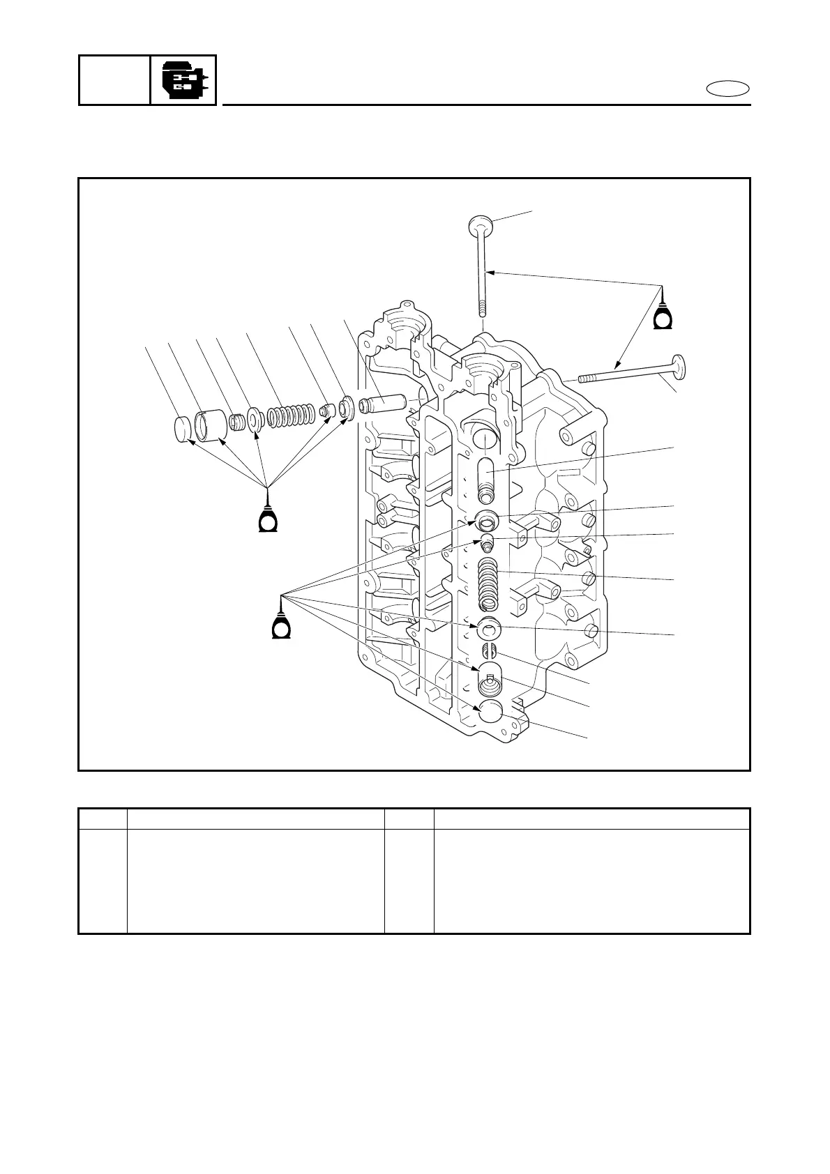
POWR
VALVES
EXPLODED DIAGRAM
8
9
8
7
6
5
4
3
2
1
10
7
6
5
4
3
2
1
E
E
E
Step Procedure/Part name Q’ty Service points
7 Spring seat 16
8 Valve guide 16
9 Intake valve 8
10 Exhaust valve 8
Reverse the removal steps for installation.

Table of Contents

Related product manuals