EasyManua.ls Logo

Yamaha F100X - Lower Case Exploded Diagram; Removal and Installation Chart

Yamaha F100X
463 pages
Print Icon
To Next Page IconTo Next Page
To Next Page IconTo Next Page
To Previous Page IconTo Previous Page
To Previous Page IconTo Previous Page
Loading...
6-16
E
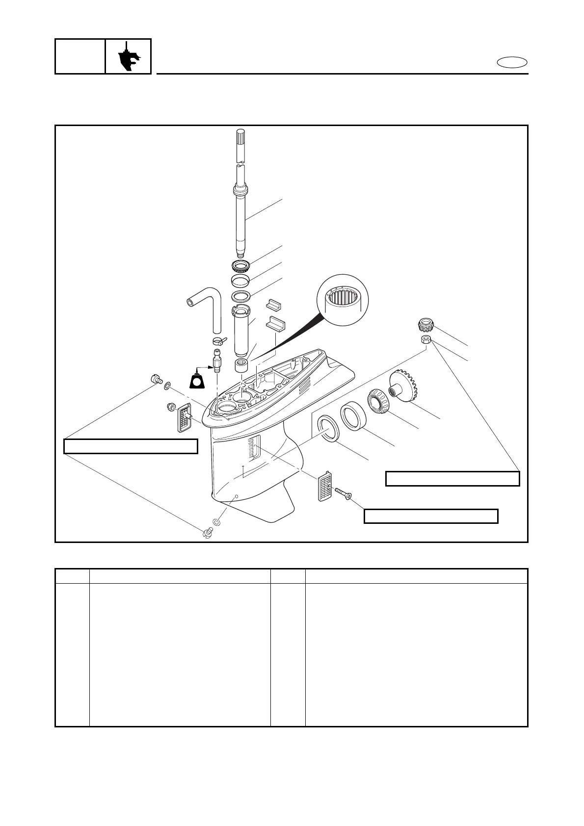
LOWR
LOWER CASE
LOWER CASE
EXPLODED DIAGRAM
1
2
3
4
6
7
10
11
12
5 Nm (0.5 m
kg, 3.6 ft
Ib)
7 Nm (0.7 m
kg, 5.1 ft
Ib)
95 Nm (9.5 m
kg, 68 ft
Ib)
9
8
5
LT
LT
572
REMOVAL AND INSTALLATION CHART
Step Procedure/Part name Q’ty Service points
LOWER CASE DISASSEMBLY Follow the left “Step” for removal.
Propeller shaft housing assy. Refer to “PROPELLER SHAFT HOUSING
ASSY.”.
1 Pinion gear nut 1
2 Pinion gear 1
3 Drive shaft 1
4 Forward gear 1
5 Bearing 1 Do not reuse if separated from the for-
ward gear.
6 Bearing race 1

Table of Contents

Related product manuals