EasyManua.ls Logo

Yamaha MT-09SP 2021 - Page 710

Yamaha MT-09SP 2021
752 pages
Print Icon
To Next Page IconTo Next Page
To Next Page IconTo Next Page
To Previous Page IconTo Previous Page
To Previous Page IconTo Previous Page
Loading...
9-280
15_ABS
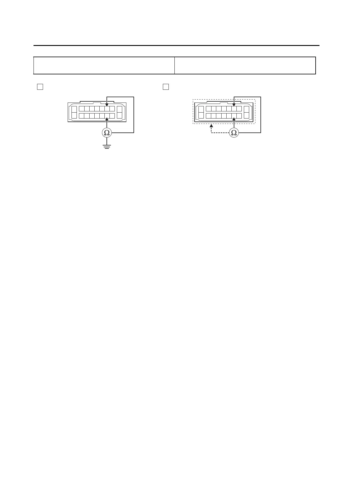
Lines short circuit check “B”
3. Defective front wheel sensor or hydraulic unit assembly
If the above items were performed and no malfunctions were found, the wheel sensor or hydraulic
unit assembly is defective.
Replace the wheel sensor or hydraulic unit assembly.
Refer to “FRONT WHEEL” on page 4-11 and “ABS (ANTI-LOCK BRAKE SYSTEM)” on page 4-49.
ABS ECU coupler “1”
yellow–any other coupler terminal
brown–any other coupler terminal
Is resistance Ω?
YES
Go to step 3.
NO
Replace the wire harness.
R
L/W
B
B/W
W/G
GYL
R/B
Br
L/W
G/O W/Y
LBWY
L/B
R
L/W
B
B/W
W/G
GYL
R/B
Br
L/W
G/O W/Y
LBWY
L/B
BA
11

Table of Contents

Related product manuals