EasyManua.ls Logo

Yanmar 3YM30E - Page 29

Yanmar 3YM30E
114 pages
Print Icon
To Next Page IconTo Next Page
To Next Page IconTo Next Page
To Previous Page IconTo Previous Page
To Previous Page IconTo Previous Page
Loading...
PRODUCT OVERVIEW
YM Series Operation Manual 23
12/05
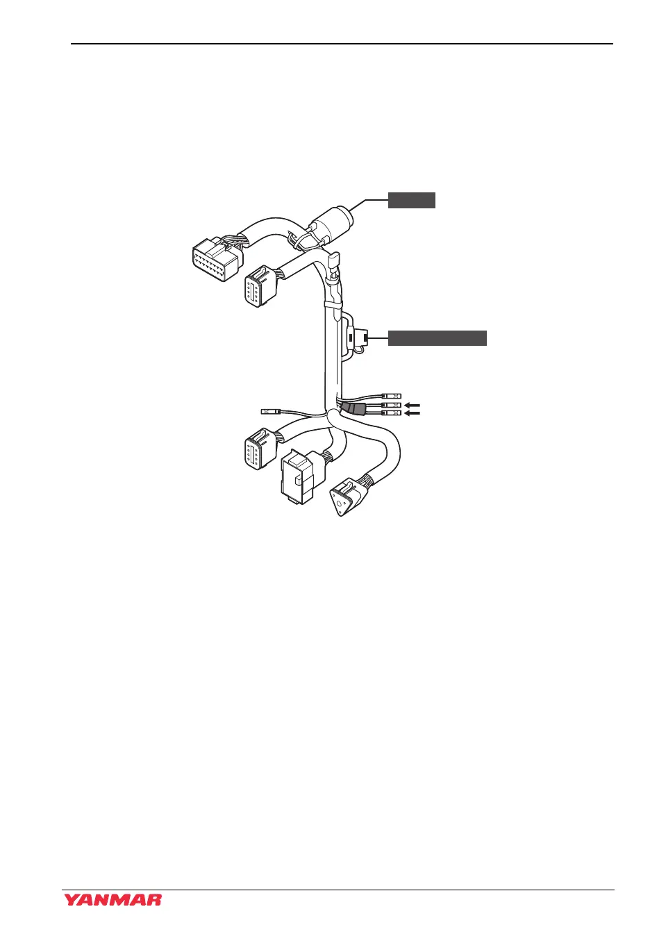
Accessory power output
The harness attached to the panel has a terminal where the signal that is synchronized to
the panel power supply can be taken off. (Figure 13) ( Refer to the Wiring Diagrams on
page 94.)
The maximum current of this output terminal is 3 A. Do not use a current higher than 3 A.
For the content of the output terminal, refer to the Wiring Diagrams on page 94.
Figure 3
Figure 13
043801-00E00
F1A - 3 AMP Fuse
Buzzer
ACC Output
YM OPM_EN.book 23 ージ 013年6月7日 金曜日 午前11時11分

Table of Contents

Related product manuals