EasyManua.ls Logo

Zapi EPS-BLI HYG - SCM Has Its Own Contactor; SCM Directly on the DC Power Rail

Zapi EPS-BLI HYG
75 pages
Print Icon
To Next Page IconTo Next Page
To Next Page IconTo Next Page
To Previous Page IconTo Previous Page
To Previous Page IconTo Previous Page
Loading...
Page – 12/75 AFMNA0AA – EPS-BLI HYG – User Manual
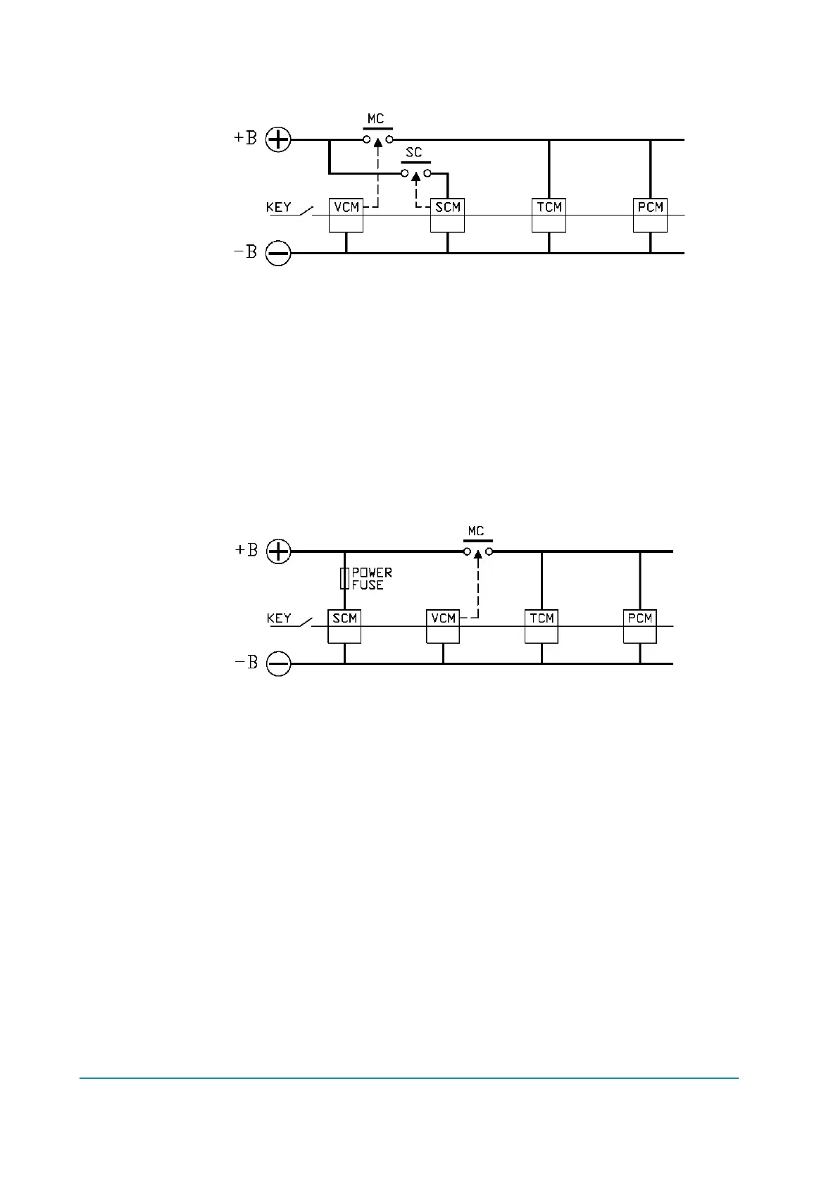
4.2.2 SCM has its own contactor
Figure 4.2.2-1. SCM with its own contactor.
The best choice is to install SCM with its own contactor.
Pros:
For turning operational, SCM does not need synchronization with another module
in the truck. SCM is immediately operative after key-on.
An error in the TCM or PCM causes the MC to open, but SCM remains operative
during the stopping interval.
Cons:
See 4.2.1: Bringing TCM to a safe state.
4.2.3 SCM directly on the DC Power rail
Figure 4.2.3-1. SCM directly connected to the DC power rail.
This choice is similar to the 4.2.2 case.
Pros:
For turning operational, SCM does not need synchronization with another module
in the truck. SCM is immediately operative after key-on.
An error in the TCM or PCM causes the MC to open, but SCM remains operative
during the stopping interval.
Cost reduction vs. 4.2.2 (one contactor is saved).
Cons:
Power stage of the SCM is always supplied: when connecting battery plug,
sparkles occur in the plug pins for the DC rail caps inside the SCM.
Power stage of the SCM is always supplied: OEM (and UL) approval is required.
See 4.2.1: Bringing TCM to a safe state.

Table of Contents

Related product manuals