EasyManua.ls Logo

Zapi EPS-BLI HYG - A Single MC, Driven by the VCM, Supplies Power Rail to All the Modules; A Single MC, Driven by the SCM, Supplies Power Rail to All the Modules

Zapi EPS-BLI HYG
75 pages
Print Icon
To Next Page IconTo Next Page
To Next Page IconTo Next Page
To Previous Page IconTo Previous Page
To Previous Page IconTo Previous Page
Loading...
AFMNA0AA – EPS-BLI HYG – User Manual Page – 13/75
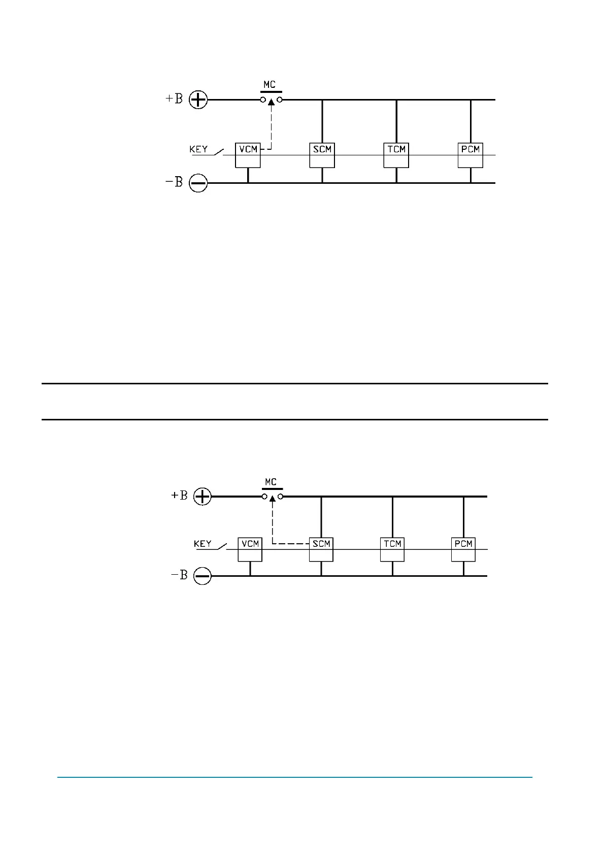
4.2.4 A single MC, driven by the VCM, supplies power rail to all the modules
Figure 4.2.4-1. Single MC driven by the VCM, supplying all the power modules.
This choice is widespread.
Pros:
Cost reduction vs. 4.2.2 (one contactor is saved)
Cons:
An error in the TCM or PCM causes the MC to open. As a consequence, steering
is not allowed during the stopping interval.
To turn operational, SCM needs a waking-up command from the VCM (i.e.
information about MC being closed). This is a safety function to be implemented
in the VCM (i.e. the VCM has to perform a category #3 function, leading to a
redundant and expensive VCM architecture).
U Chapter 14.2 deals about this safety function to be implemented in the VCM.
See 4.2.1: Bringing TCM to a safe state.
4.2.5 A single MC, driven by the SCM, supplies power rail to all the modules
Figure 4.2.5-1. Single MC driven by the SCM to supply all the power modules.
This choice is a possible alternative to the 4.2.4.
Pros:
Cost reduction vs. 4.2.2 (one contactor is saved)
To turn operational, SCM DOES NOT need a waking-up command from the VCM
because the SCM turns operative as soon as it has closed the MC. A VCM
designed according category#3 is not strictly required.
Cons:
An error in the TCM or PCM causes the MC to open. As a consequence, steering
is not allowed during the stopping interval.
See 4.2.1: Bringing TCM to a safe state.

Table of Contents

Related product manuals