EasyManua.ls Logo

ABB 4630 - Access to Secure Parameters; Language Page; Set up Parameters Page

ABB 4630
40 pages
Print Icon
To Next Page IconTo Next Page
To Next Page IconTo Next Page
To Previous Page IconTo Previous Page
To Previous Page IconTo Previous Page
Loading...
24
SECURITY CODE
00000
Espanol
–––––
_____
SET UP PARAMETER
–––––
English
Deutsch
Francais
Espanol
˜
SET UP PARAMETER
–––––
Type pH Antimony
–––––
pH Glass
Redox (ORP)
Redox
pH
7 PROGRAMMING
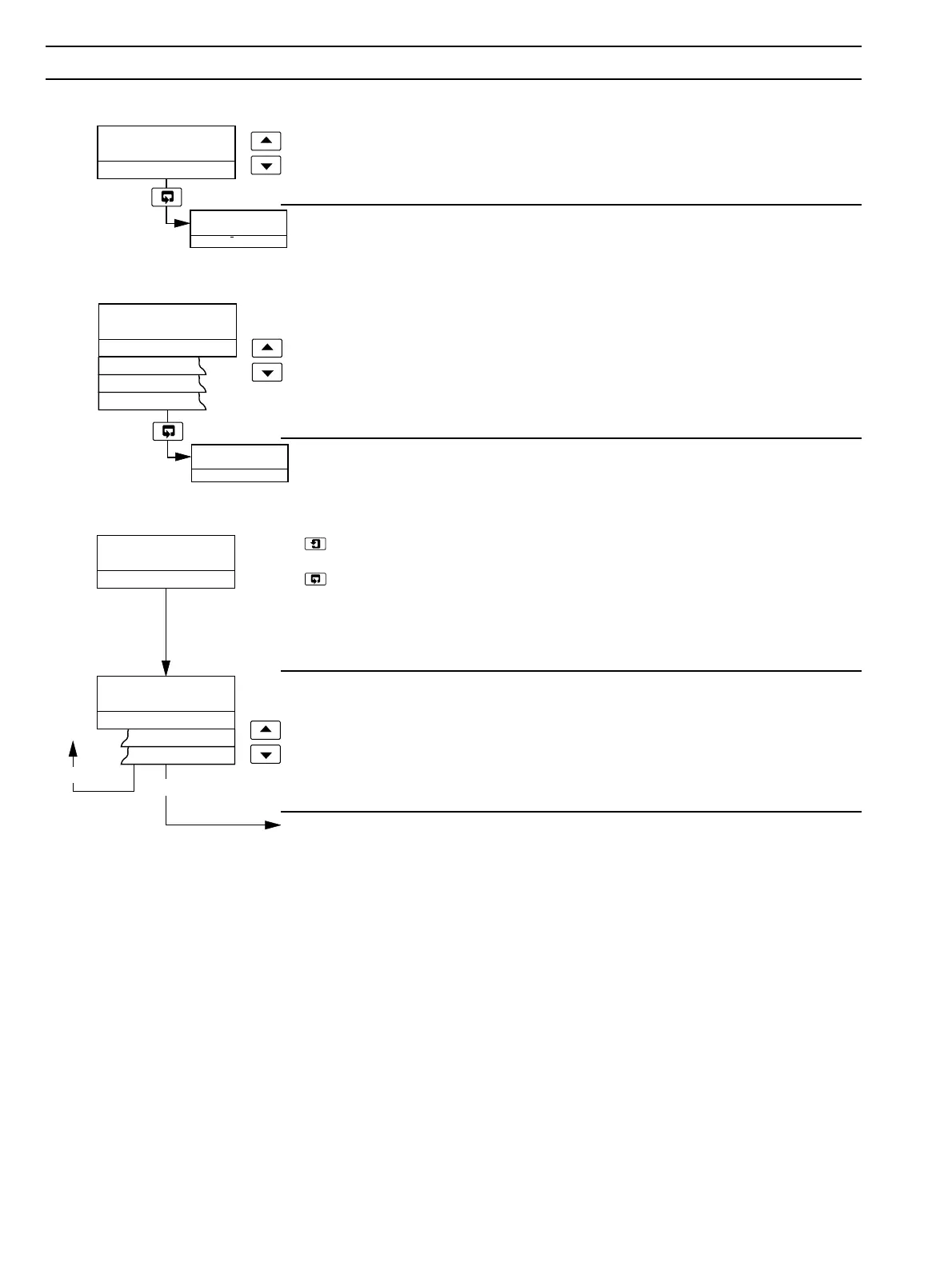
7.1 Access to Secure Parameters
Security Code
Enter the required code number, between 00000 and 19999, to gain access to the
secure parameters. If an incorrect value is entered, access to subsequent programming
pages is prevented and the display reverts to the
Operating Page.
Advance to Language Page.
7.2 Language Page
Language Page
Select the language to be displayed on all subsequent pages.
Advance to Set Up Parameters Page.
7.3 Set Up Parameters Page
press to advance to next parameter
or
press to advance to next page.
These two keys are used to advance to all subsequent parameters and pages. If a
parameter is changed it is automatically stored on operation of either key.
Probe Type
Select pH Antimony/pH Glass for pH display or Redox (ORP) for millivolt display.
Select the required probe type.
Continued on next page.

Related product manuals