EasyManua.ls Logo

ABB Advant Controller 450 - Figure 4-5. Advant Fieldbus 100 Using Twisted Pair Media Connected to; Figure 4-6. Advant Fieldbus 100 Using Media Redundancy Connected to

ABB Advant Controller 450
120 pages
Print Icon
To Next Page IconTo Next Page
To Next Page IconTo Next Page
To Previous Page IconTo Previous Page
To Previous Page IconTo Previous Page
Loading...
Advant Controller 450 Product Guide
Section 4.8.2 Fieldbus Communication
3BSE 015 953R201 Rev B 4-7
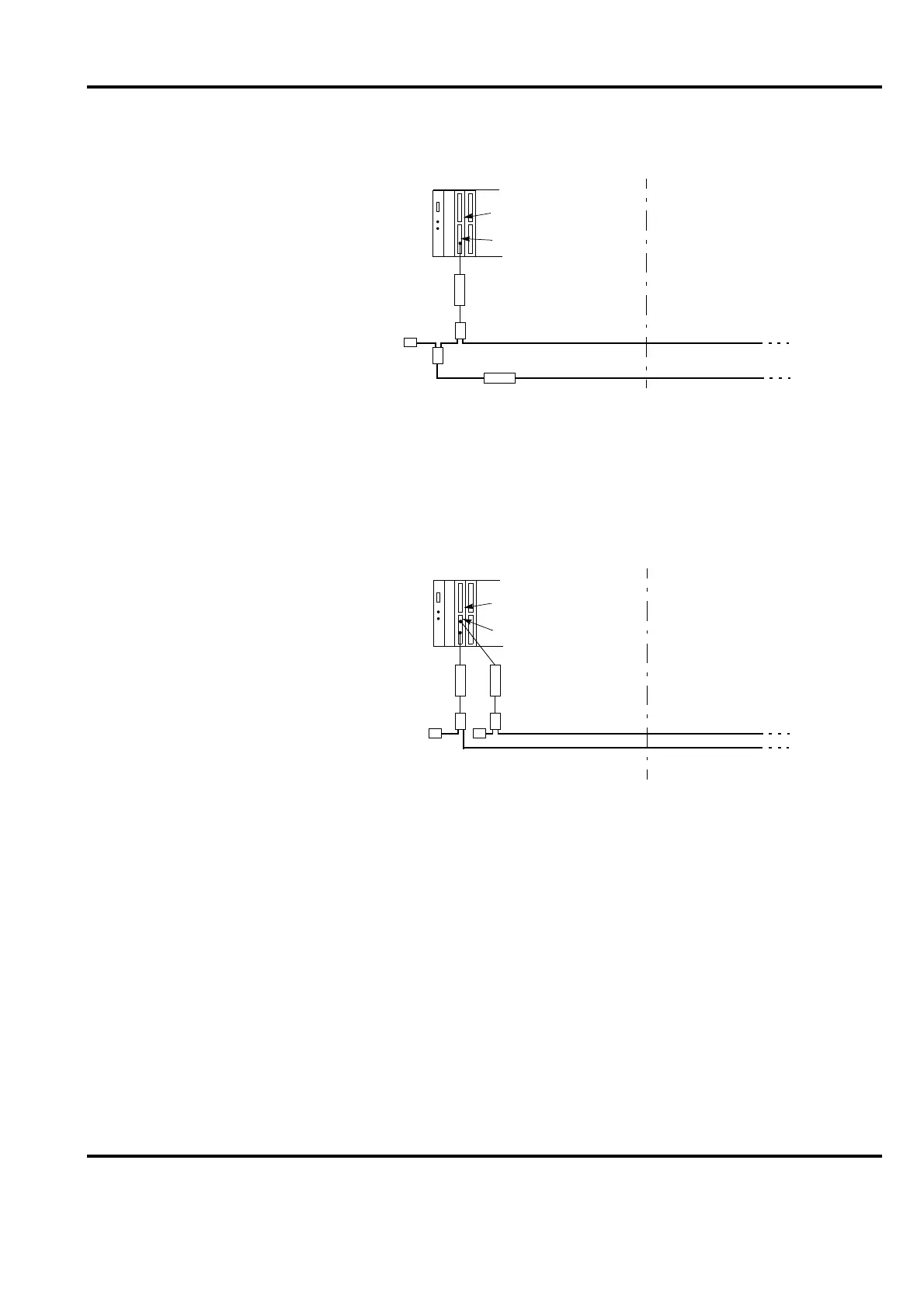
Advant Fieldbus 100 using Twisted Pair Media
Advant Fieldbus 100 using Media Redundancy
Only twisted pair media is shown.
Figure 4-5. Advant Fieldbus 100 using Twisted Pair Media connected to
Advant Controller 450
Figure 4-6. Advant Fieldbus 100 using Media Redundancy connected to
Advant Controller 450
AC 450
SC510 or SC520
CI522A
TK803
TC512V1
Twisted pair media
Optical media
TC505
TC514V2
TC505
T
AC 450
SC510 or SC520
CI522A
TK803
TC512V1
Twisted pair
Media redundancy
TC505
T
T
TC505
TC512V1
TK803

Table of Contents

Other manuals for ABB Advant Controller 450

Related product manuals