EasyManua.ls Logo

ABB TPL73-A30 - Turbocharger Rating Plate

ABB TPL73-A30
149 pages
Print Icon
To Next Page IconTo Next Page
To Next Page IconTo Next Page
To Previous Page IconTo Previous Page
To Previous Page IconTo Previous Page
Loading...
Operation Manual / TPL69-A10 / -A30 ... TPL77-A10 / -A30
Preliminary remarks
1
Turbocharger rating plate
1.7
Page 14
© Copyright 2016 ABB. All rights reserved.
December 2016 HZTL2481_EN Revision B
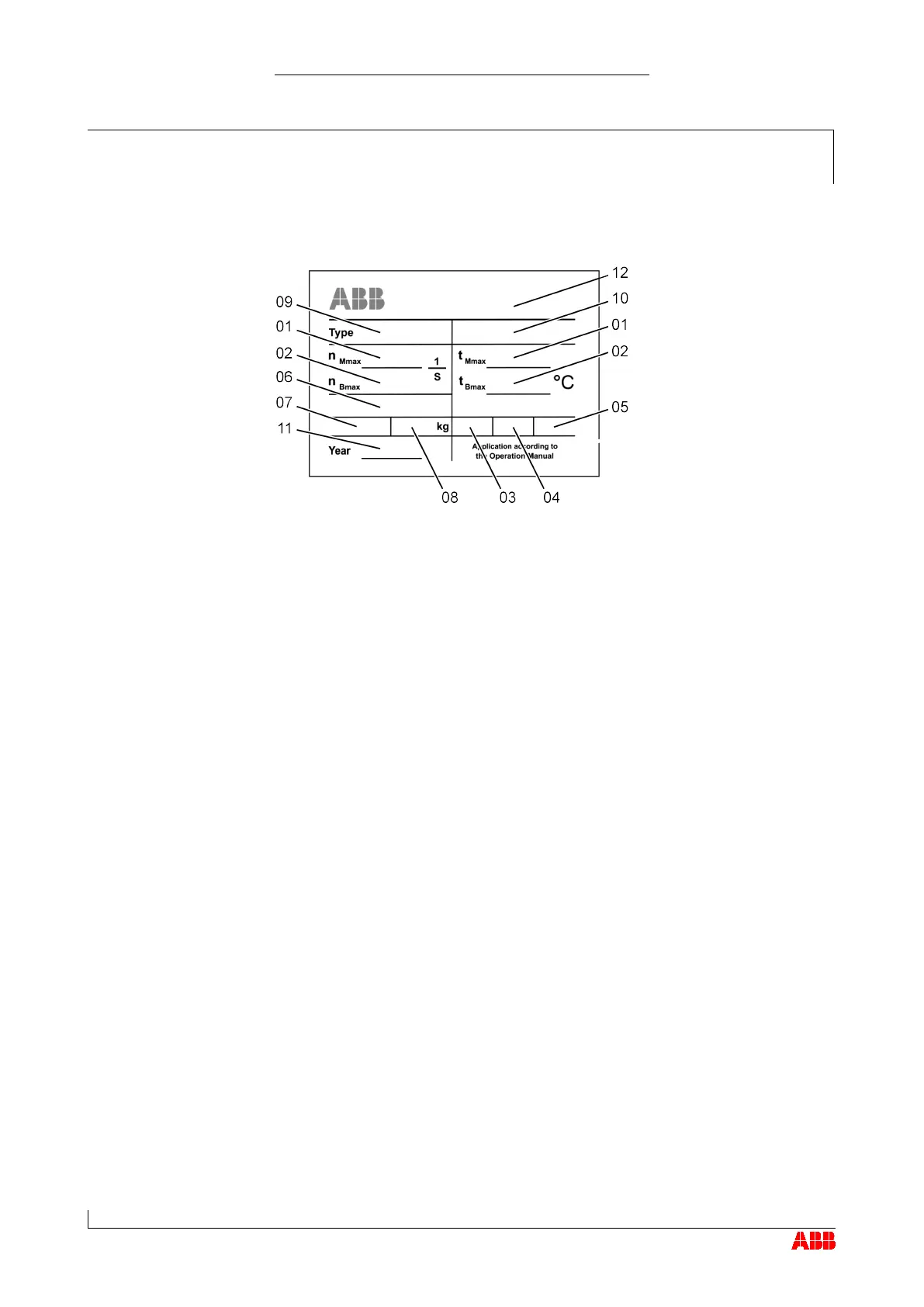
Turbocharger rating plate
1.7
01
Turbocharger operating limits at engine overload (110 %).
Only when operating in the test rig unless otherwise agreed with the en-
ginebuilder.
02
Turbocharger operating limits during operation
03
Replacement interval for plain bearings in 1000 h
04
Replacement interval for compressor in 1000 h
05
Replacement interval for turbine in 1000 h
06
Customer part number
07
Designation of the special design
08
Turbocharger weight in kg
09
Turbocharger type
10
Serial number
11
Year of construction of turbocharger
12
Manufacturing plant
1.7
Operating limits
Recommended replace-
ment intervals for turbo-
charger components
Further information

Table of Contents

Related product manuals