EasyManua.ls Logo

ABB TZIDC - TZIDC-110;120 Parameter Overview and Description

ABB TZIDC
88 pages
Print Icon
To Next Page IconTo Next Page
To Next Page IconTo Next Page
To Previous Page IconTo Previous Page
To Previous Page IconTo Previous Page
Loading...
Parameter descriptions
42/18-84-EN TZIDC, TZIDC-110, TZIDC-120 81
11.2 TZIDC-110 / TZIDC-120
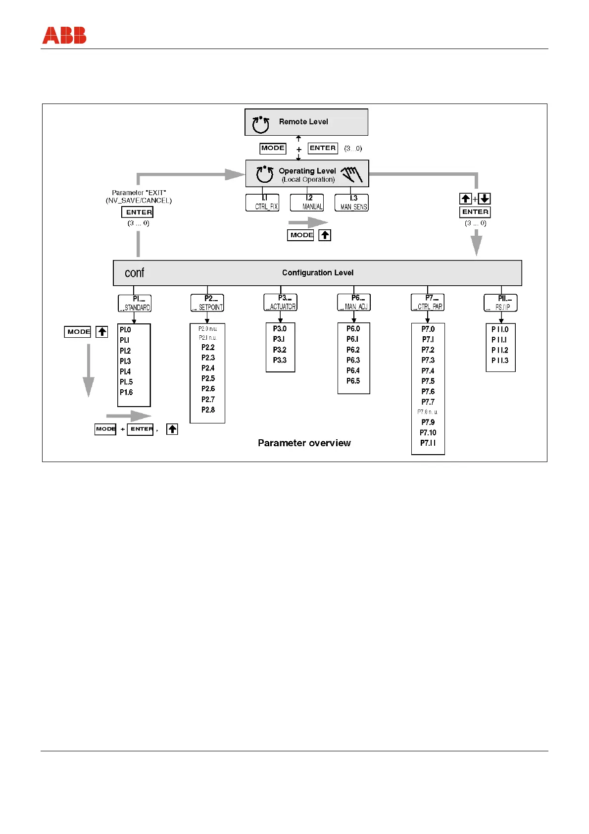
11.2.1 Parameter overview
M00502
Fig. 23: Parameter overview

Table of Contents

Other manuals for ABB TZIDC

Related product manuals