EasyManua.ls Logo

AEG B8871-4 - Page 27

AEG B8871-4
68 pages
Print Icon
To Next Page IconTo Next Page
To Next Page IconTo Next Page
To Previous Page IconTo Previous Page
To Previous Page IconTo Previous Page
Loading...
27Operating the Oven
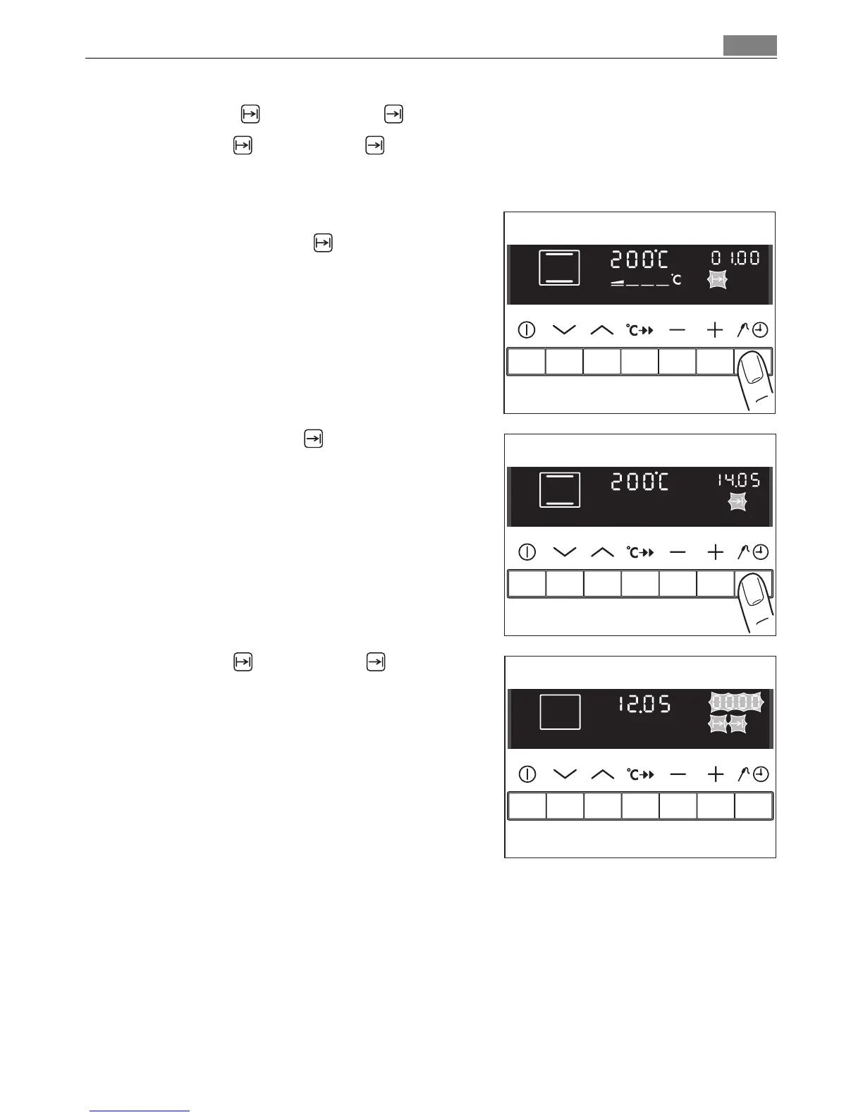
Cook time and End time combined
3 Cook time and End time can be used at the same time, if the oven is to be
automatically switched on and off at a later time.
1. Select the oven function and temperature.
2. Using the Cook time function, set the
time that the dish needs to cook,
for example: 1 hour.
3. Using the End time function, set the
time at which the dish should be ready,
for example: 14:05.
Cook time and End time light up.
The oven switches on automatically at the
time calculated,
for example: at 13:05.
When the Cook time set has elapsed, an
audible signal sounds for 2 minutes and
the oven switches itself off,
for example: at 14:05.

Related product manuals