EasyManua.ls Logo

AEG B8871-4 - Usage, Tables and Tips; Baking

AEG B8871-4
68 pages
Print Icon
To Next Page IconTo Next Page
To Next Page IconTo Next Page
To Previous Page IconTo Previous Page
To Previous Page IconTo Previous Page
Loading...
31Usage, Tables and Tips
Usage, Tables and Tips
Baking
Oven function: Ventitherm ® Precision Fan Cooking or Conventional
Cooking
Baking tins
For Conventional Cooking dark metal and nonstick tins are suitable.
For Ventitherm ® Precision Fan Cooking bright metal tins are also suitable.
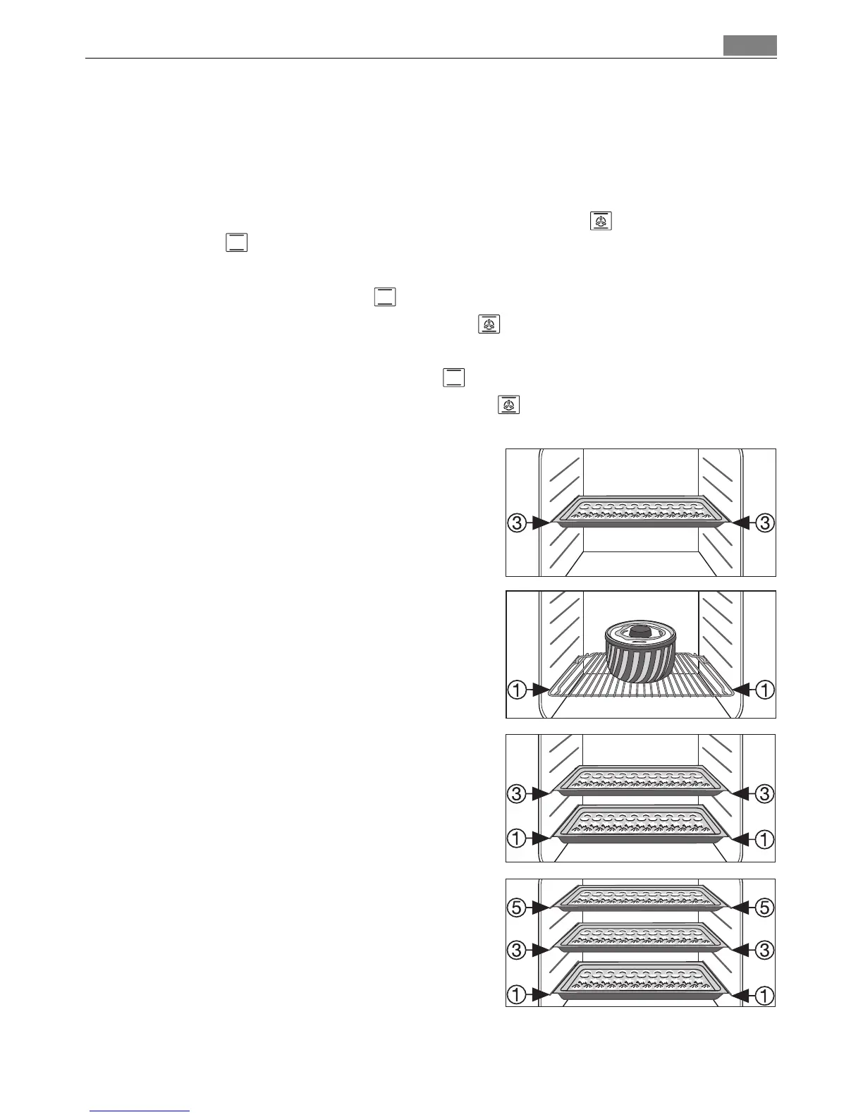
Oven levels
Baking with Conventional Cooking is possible on one oven level.
Using Ventitherm ® Precision Fan Cooking you can bake on up to 3 baking
trays at the same time:
1 baking tray:
e.g. oven level 3
1 cake tin:
e.g. oven level 1
2 baking trays:
e. g. oven levels 1 and 3
3 baking trays:
oven levels 1, 3 and 5

Related product manuals