EasyManua.ls Logo

Alcatel IPUP A100 - Page 49

Alcatel IPUP A100
115 pages
Print Icon
To Next Page IconTo Next Page
To Next Page IconTo Next Page
To Previous Page IconTo Previous Page
To Previous Page IconTo Previous Page
Loading...
B 60
2 / 5
Alcatel Vacuum Technology France --- IPUP A100 Instruction manual
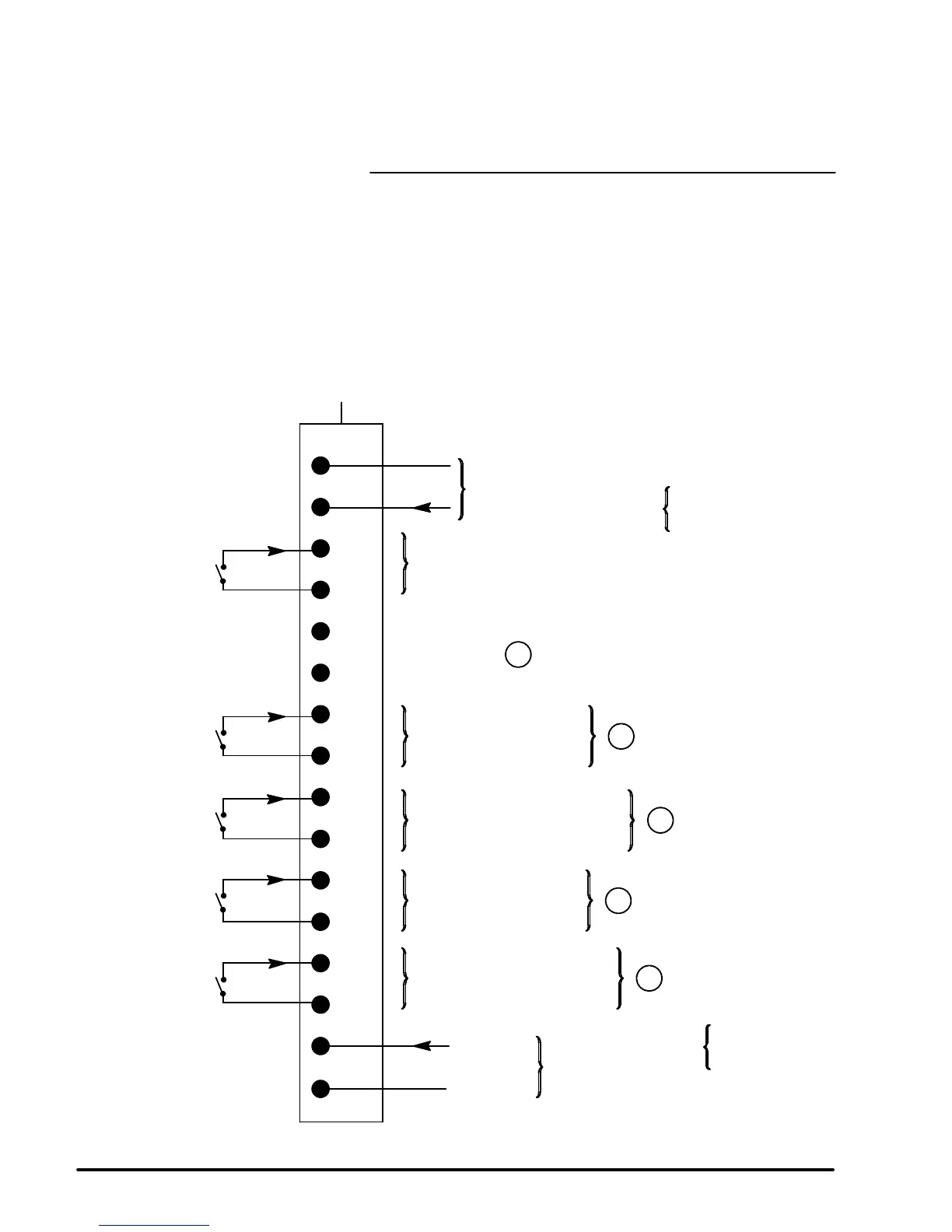
Amat smart pump interface
connection
AMAT SPI CONTACTS (IPUP
A100P) (INPUTS AND OUTPUTS)
0 V---10 VDC
0 VDC
Dry contacts
Dry contact
1
2
3
4
5
6
7
8
9
10
11
12
13
14
15
16
---
+
+
---
S
P
I
c
o
e
c
t
o
r
C
s
t
o
m
e
r
s
c
o
e
c
t
i
o
Final valve interlock feedback
Pump On/Off common
Pump On/Off control signal
Pump running feedback signal
Pump running common
Pump warning signal
Pump warning common
Pump alarm signal (hazard)
Pump alarm common (hazard)
N2 flow feedback signal
N2 flow common
Final valve interlock signal
Variablerotationspeed
control signal
Variablerotationspeed
control common
24VDC = ON
0VDC=OFF
0 VDC=100 Hz
10 VDC=20 Hz
All dry contacts are normally closed
Opened dry contact: defect
Closed dry contact: no defect
1
1
1
1
1
Note: Dry output contacts are software monitored
G
B
0
0
5
2
9

Table of Contents

Related product manuals