EasyManua.ls Logo

Allied Systems Freeman 370 - Page 84

Allied Systems Freeman 370
108 pages
Print Icon
To Next Page IconTo Next Page
To Next Page IconTo Next Page
To Previous Page IconTo Previous Page
To Previous Page IconTo Previous Page
Loading...
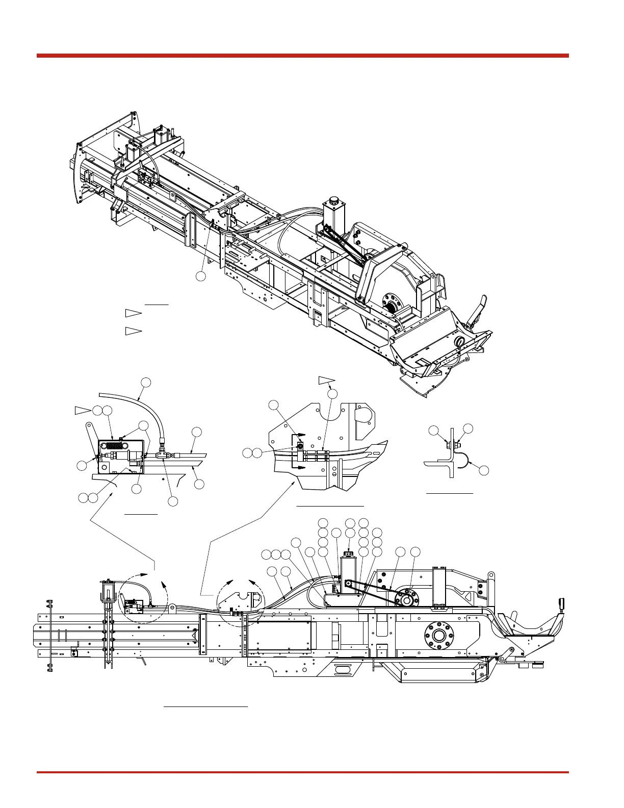
Tensioning/Rear Mnt Inst, 37X - 16” Frame Ktd-14”x21”
Page 4 of 4
Tensioning/Rear Mounts Inst - 16” Frame Ktd 14” X 21”
Page 4 of 4
TENSION PUMP & TANK
BYPASS BOX & HOSE
DETAIL A
BYPASS BOX
HOSE
PROTECTOR
SECTION H-H
A
B
H
H
1718
23
21
21
22
24
19
2858
161552
37
55
3-1
3X
51
54
54
57
14
48
20
51
54
54
57
59
25
505653
2322
17
27372X
28
58
21
26
26
20
3-2
2X
NOTES:
FASTEN WITH BLACK ZIP TIES
IN SHOWN POSITION.
PART #18 (TENSION BOX COVER)
IS MOUNTED AFTER PAINT.
3-1
3-2
84
89-096 Rev: 11-2016

Table of Contents