EasyManua.ls Logo

Armfield PCT40 - Equipment Diagrams

Armfield PCT40
196 pages
Print Icon
To Next Page IconTo Next Page
To Next Page IconTo Next Page
To Previous Page IconTo Previous Page
To Previous Page IconTo Previous Page
Loading...
3
Equipment Diagrams
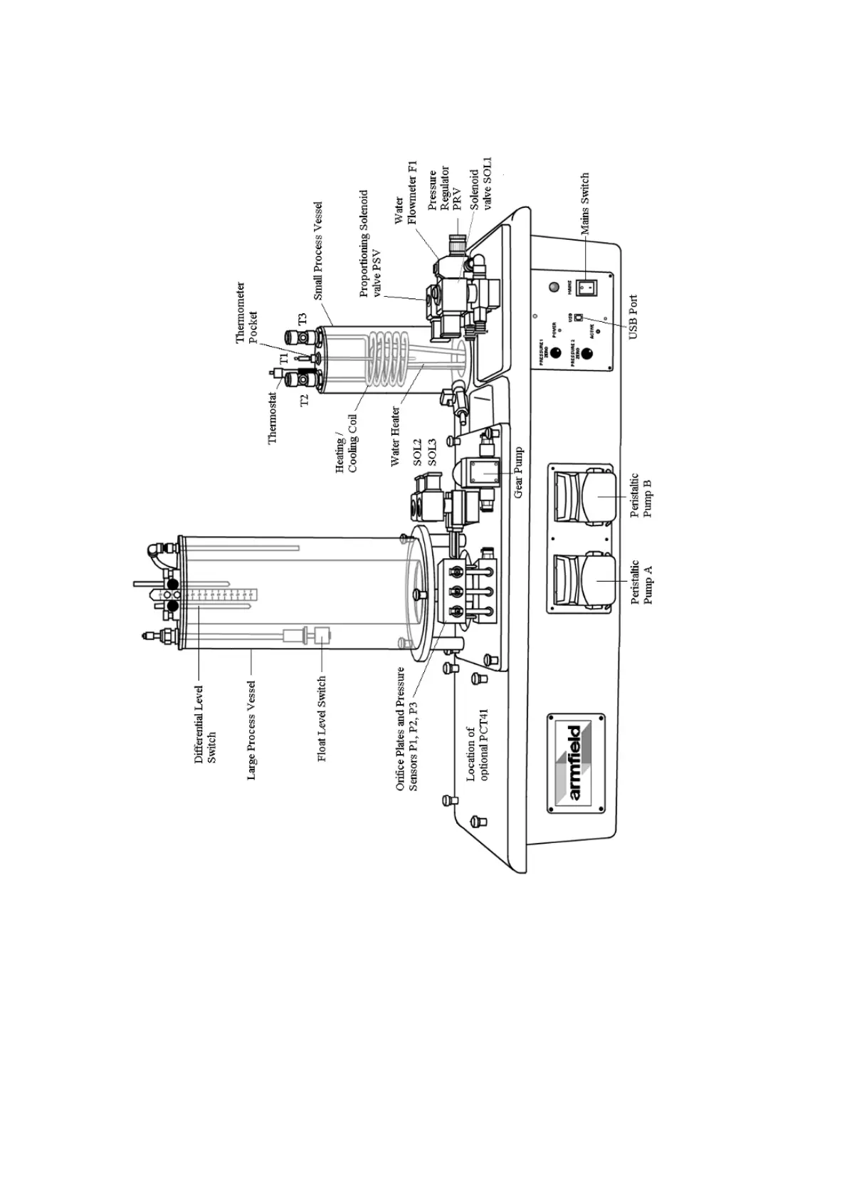
Figure 1: Front View of PCT40 Basic Process Control Unit

Table of Contents