EasyManua.ls Logo

AT&T PARTNER - Page 102

AT&T PARTNER
130 pages
To Next Page IconTo Next Page
To Next Page IconTo Next Page
To Previous Page IconTo Previous Page
To Previous Page IconTo Previous Page
Loading...
If your system phone has a built-in auxiliary jack, you can connect a standard
device directly to the phone—see “Using A Direct Connection” below. If your
system phone does not provide a built-in auxiliary jack or if you want to connect
two standard devices together, you must use an AT&T 267F2 bridging adapter
to combine the two devices on one extension—see “Using a Bridging Adapter”
below.
NOTE:
A Music On Hold device cannot share an extension with a phone.
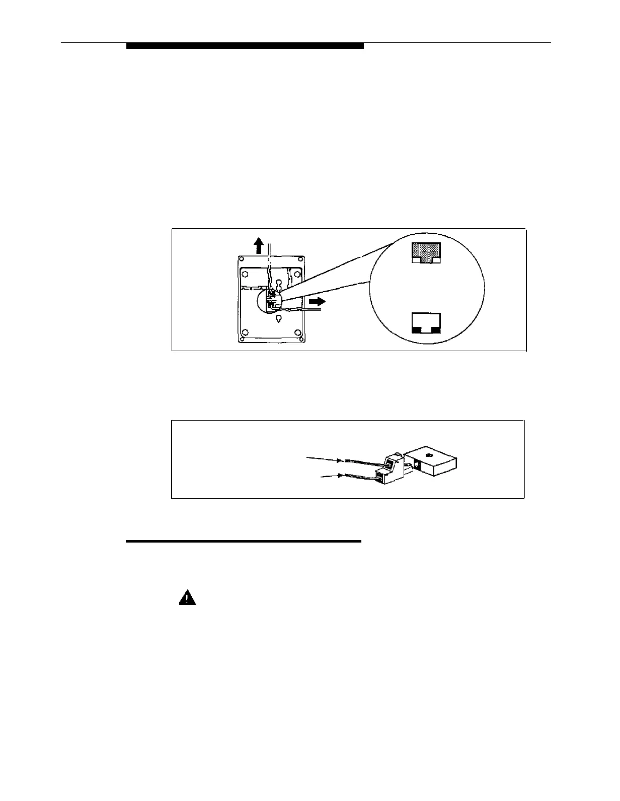
Using A Direct Connection
Figure C-4 shows how to connect a standard device directly to a system phone,
using the phone’s built-in auxiliary jack.
To Wall
Jack
Plug LINE into
gray jack
Plug AUX device
into white jack
To Standard
Device
Figure C-4. Combination Extension Using Direct Connection
Using a Bridging Adapter
Figure C-5 shows how to connect a system phone and a standard device or two
standard devices together using the AT&T 267F2 bridging adapter.
AT&T
267F2
Adapter
Standard Device Only
System Phone or Standard Device
Wall Jack
Figure C-5. Combination Extension Using Bridging Adapter
Installation Procedures
Before installing the system, be sure you read the safety instructions on page
C-1. To prevent damage to the system or installation location, the environmental
Installation
C-7
and electrical conditions must meet the specifications in Appendix B.
WARNING:
There are no customer-serviceable components inside the system
modules. There are hazardous voltages within that can cause
severe or fatal personal injury. DO NOT OPEN THE MODULES.

Table of Contents

Related product manuals