EasyManua.ls Logo

Backyard Discovery 1801080 - WOODRIDGE ELITE - STEP 55

Backyard Discovery 1801080
96 pages
Print Icon
To Next Page IconTo Next Page
To Next Page IconTo Next Page
To Previous Page IconTo Previous Page
To Previous Page IconTo Previous Page
Loading...
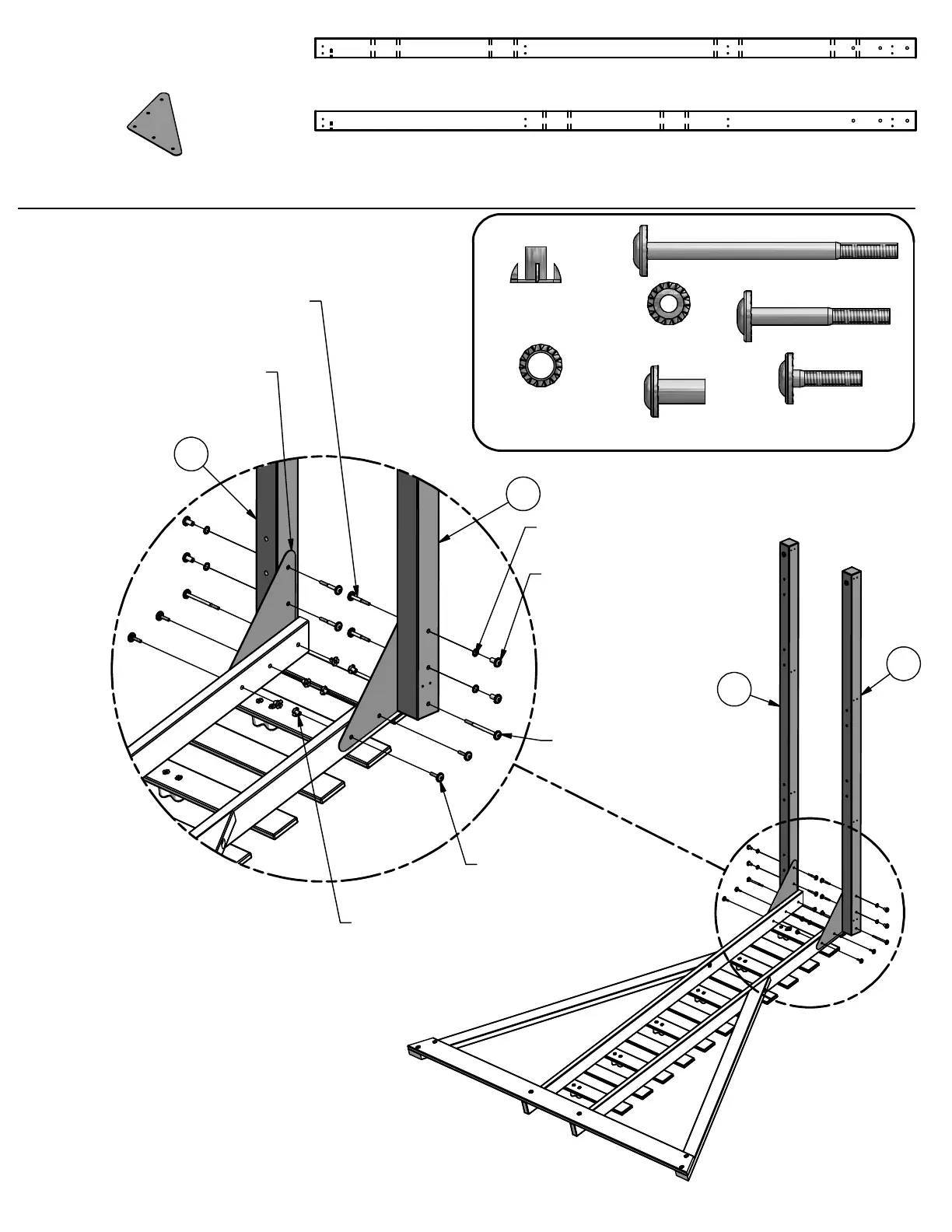
STEP 55
T-NUT 5/16
SD
(6)
WASHER
LOCK EXT
8x19 SD
(2)
WASHER
LOCK EXT
12x19 SD
(4)
NUT BARREL
WH 5/16x7/8
SD
(4)
BOLT WH
5/16x4 1/2 SD
(2)
BOLT WH
5/16x1 1/4 SD
(4)
DD - TRIANGLE PLATE 105 5 HOLE - A100005
(2)
BOLT WH
5/16x2 1/2 SD
(4)
B2 - SWING BEAM - W4L09090
3"x
3"x89 1/2" (76x76x2274)
(1)
B1 - SWING BEAM - W4L09091
3"x3"x89 1/2" (76x76x2274)
(1)
B1
B2
B1
B2
TRIANGLE PLATE 105 5 HOLE
(2 PLCS)
BOLT WH 5/16x2 1/2 SD
(4 PLCS)
WASHER LOCK EXT 12x19 SD
(4 PLCS)
NUT BARREL WH 5/16x7/8 SD
(4 PLCS)
BOLT WH 5/16x4 1/2 SD
(2 PLCS)
BOLT WH 5/16x1 1/4 SD
(4 PLCS)
T-NUT 5/16 SD
(6 PLCS)
76

Table of Contents

Related product manuals