EasyManua.ls Logo

Baxi DUO-TEC MAX+ - 11 Collegamenti Elettrici

Baxi DUO-TEC MAX+
Print Icon
To Next Page IconTo Next Page
To Next Page IconTo Next Page
To Previous Page IconTo Previous Page
To Previous Page IconTo Previous Page
Loading...
7219623.01 (1-04/15) 10
Sezione INSTALLATORE (it)
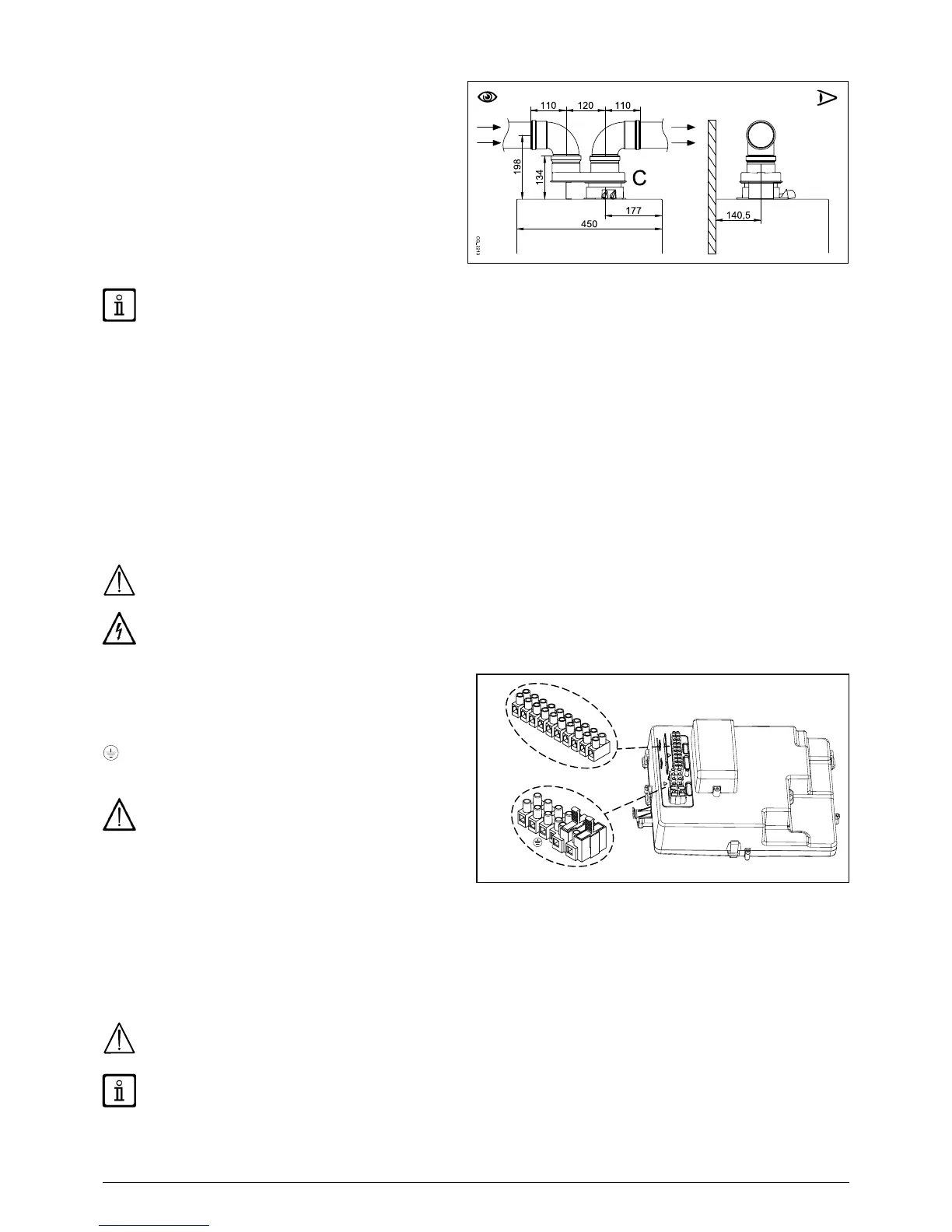
KIT SDOPPIATORE SINGOLO (ACCESSORIO ALTERNATIVO)
Per installazioni particolari dei condotti di scarico/aspirazione
dei fumi, è possibile utilizzare l'accessorio sdoppiatore
singolo (C) fornito come accessorio. Questo accessorio,
infatti, consente di orientare lo scarico e l'aspirazione in
qualsiasi direzione grazie alla possibilità di rotazione a
     
       
L’aspirazione dell’aria comburente può essere effettuata in
zone diverse rispetto a quelle dello scarico. Il kit sdoppiatore

all’aria comburente e ai fumi di scarico di entrare/uscire da
due condotti (80 mm) separati. Per maggiori informazioni
leggere le istruzioni di montaggio che accompagnano
l'accessorio stesso.
ALCUNI ESEMPI D'INSTALLAZIONE DEI CONDOTTI DI SCARICO, E LE RELATIVE LUNGHEZZE AMMESSE, SONO
DISPONIBILI ALLA FINE DEL MANUALE NELL' ALLEGATO "SECTION" D.
11. COLLEGAMENTI ELETTRICI

di messa a terra, eseguito come previsto dalle vigenti Norme di sicurezza sugli impianti (DM n.37 del 22.01.08). La caldaia va

la polarità Linea-Neutro.
L’allacciamento dev’essere effettuato tramite un interruttore bipolare con apertura dei contatti di almeno 3 mm.
In casi di sostituzione del cavo di alimentazione deve essere utilizzato un cavo armonizzato “HAR H05 VV-F” 3x0,75 mm
2
con

parte inferiore), ruotare verso il basso la scatola comandi ed accedere alle morsettiere M1, M2, M3, destinate ai collegamenti
elettrici, togliendo il coperchio di protezione. I fusibili, del tipo rapido da 3,15 A, sono incorporati nella morsettiera di alimentazione
(estrarre il porta-fusibile di colore nero per il controllo e/o la sostituzione).
VEDERE LO SCHEMA ELETTRICO ALLA FINE DEL MANUALE NELL'ALLEGATO "SECTION" B
Vericare che l'assorbimento nominale complessivo degli accessori collegati all'apparecchio sia inferiore a 2A. Nel caso sia
superiore, è necessario interporre tra gli accessori e la scheda elettronica un relè.
I collegamenti presenti nelle morsettiere M1- M3 sono in alta tensione (230 V). Prima di procedere al collegamento assicurarsi
che l'apparecchio non sia alimentato elettricamente. Rispettare la polarità in alimentazione sulla morsettiera M1: L (LINEA) - N
(NEUTRO).
MORSETTIERA M1
(L)Linea (marrone)
(N)Neutro (celeste).
Messa a Terra (giallo-verde).
(1) (2)Termostato Ambiente.
Si rende necessario ripristinare il ponticello sui
morsetti 1-2 della morsettiera M1 di caldaia nel caso in
cui non venga utilizzato il termostato ambiente oppure
nel caso in cui non sia collegato il Controlo Remoto fornito
come accessorio.
MORSETTIERA M2
Morsetti 1 - 2: collegamento Controllo Remoto (bassa tensione) fornito come accessorio.
Morsetti 4 - 5 (comune): collegamento Sonda Esterna (fornita come accessorio)
Morsetti 3-6-7-8: non utilizzato.
Morsetti 9-10: collegamento della sonda del bollitore sanitario.
In caso l’apparecchio sia collegato ad un impianto a pavimento deve essere previsto, a cura dell’installatore, un termostato di
protezione per la salvaguardia dell'impianto dalle sovratemperature.
Per il passaggio dei cavetti di collegamento delle morsettiere, utilizzare gli appositi fori "passa-ssa cavi" presenti sul fondo
della caldaia.





Table of Contents

Related product manuals