EasyManua.ls Logo

Baxi DUO-TEC MAX+ - Elektrické Pripojenie

Baxi DUO-TEC MAX+
Print Icon
To Next Page IconTo Next Page
To Next Page IconTo Next Page
To Previous Page IconTo Previous Page
To Previous Page IconTo Previous Page
Loading...
7219623.01 (1-04/15) 76
Časť INŠTALATÉR (sk)
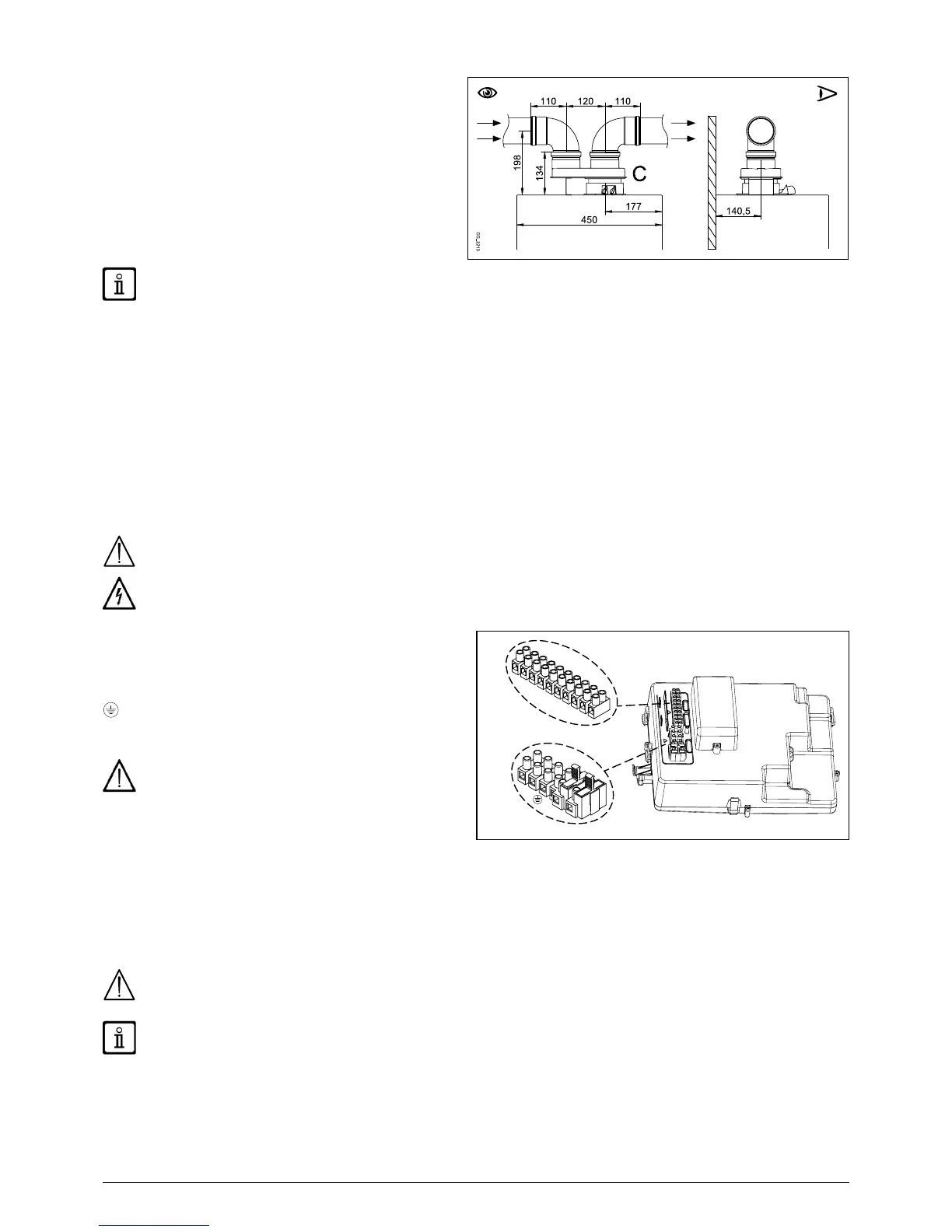
ROZDVOJOVACÍ KUS (PRÍSLUŠENSTVÍ NA OBJEDNÁVKU)

      
objednávku) (C     


prisávania ako zvonku budovy, tak cez jednotlivé dymovody.
      





NIEKOĽKO PRÍKLADOV POTRUBÍ ODVODU SPALÍN A PSLUŠNÉ POVOLENÉ DĹŽKY SÚ K DISPOZÍCII NA KONCI NÁVODU
V PRÍLOHE SECTION“ D.
11. ELEKTRICKÉ PRIPOJENIE



Fáza– Nula.
Pripojenie uskutočnite pomocou dvojpólového vypínača s otvorením kontaktov aspoň na 3 mm.

2
s maximálnym priemerom 8 mm.

M1, M2, M3,

„SECTION“ B
Overte, či celková menovitá spotreba príslušenstva napojeného k zariadeniu nie je vyššia ako 2A. Ak presahuje túto hodnotu,
je nevyhnutné vložiť medzi príslušenstvo a elektronickú dosku relé.
Svorkovnice M1- M3 pod vysokým napätím (230 V). Než začnete vykonávať pripojenie skontrolujte, či zariadenie nie je
napájané elektrickým prúdom. Dodržujte polaritu na svorkovnici M1: L (FÁZA) - N (NULA).
SVORKOVNICA M1
(L)Fáza (hnedá)
(N)Nula (modrá).
Uzemnenie
(1) (2)Priestorový termostat.
Je nevyhnut obnov mosk na svorkách 1-
2 svorkovnice M1 kotla v prípade, že priestorový
termostat nebude použitý alebo v prípade nepripojenia
vzdialenej kontroly dodanej ako pslušenstvo.
SVORKOVNICA M2
Svorky 1 - 2:
Svorky 4 - 5 (všeobecné):
Svorky 3-6-7-8:
Svorky 9-10:
Ak je k zariadeniu pripojené podlahové vykurovanie, inštalatér musí zaistiť bezpečnostný termostat pre ochranu proti
prehrievaniu systému.
Pre umiestnenie pripojovacích káblov svorkovníc používajte pslušné otvory, ktoré sú v spodnej časti kotla.





Table of Contents

Related product manuals