EasyManua.ls Logo

Baxi DUO-TEC MAX+ - Elektrické Přípojení

Baxi DUO-TEC MAX+
Print Icon
To Next Page IconTo Next Page
To Next Page IconTo Next Page
To Previous Page IconTo Previous Page
To Previous Page IconTo Previous Page
Loading...
7219623.01 (1-04/15) 54
Část INSTALATÉR (cs)
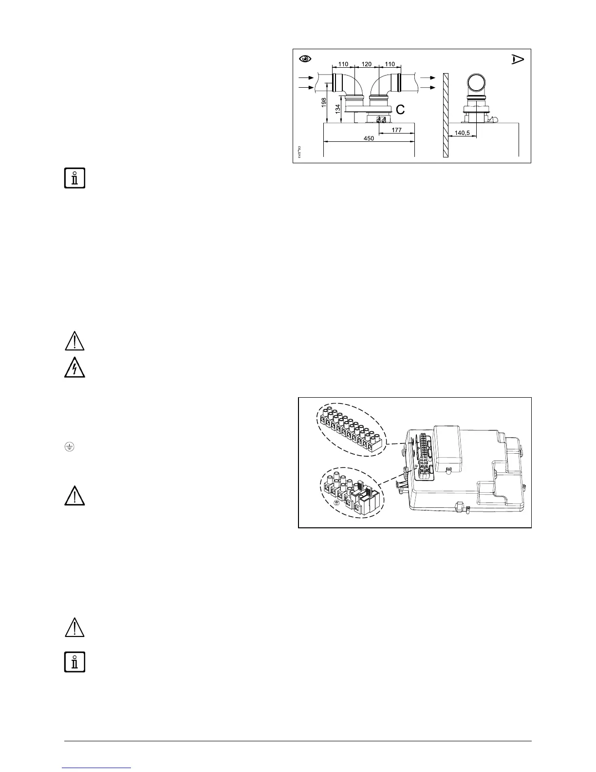
ROZDVOJOVACÍ KUS (PŘÍSLUŠENSTVÍ NA OBJEDNÁVKU)

     C). Tento
       
         
 


        
      
       

KTEPŘÍKLADY INSTALACE ODTAHOVÝCH POTRUBÍ A ÍSLUŠNÉ POVOLENÉ DÉLKY NAJDETE NA KONCI NÁVODU
V PŘÍLOZE „SECTION“ D.
11. ELEKTRICKÉ PŘÍPOJENÍ



Připojení proveďte pomocí dvoupólového vypínače s otevřením kontaktů alespoň na 3 mm.

2


M1, M2, M3,

„SECTION“ B
Ověřte, zda celková jmenovitá spotřeba příslušenství napojeného k zařízení není vyšší než 2A. Pokud přesahuje tuto hodnotu,
je nezbytné vložit mezi příslušenství a elektronickou desku relé.
Zapojení na svorkovnicích´ M1- M3 jsou pod vysokým napětím (230 V). Než začnete provádět připojení, zkontrolujte, zda zařízení
není napájeno elektrickým proudem. Dodržujte polaritu na svorkovnici M1: L (FÁZE) - N (NULA).
SVORKOVNICE M1
(L)Fáze
(N)Nulák (modrá).
Uzemnění
(1) (2)Prostorový Termostat.
Je nutobnovit můstek na svorkách 1-2 svorkovnice
M1 kotle v ípadě, že prostorový termostat nebude
poitý nebo v případě nepřipojení vzdálekontroly
dodané jako příslušenst.
SVORKOVNICE M2
Svorky 1 - 2:
Svorky 4 - 5 (všeobecné):
Svorky 3-6-7-8:
9-10:
Pokud je zařízení připojeno na podlahový systém, instalatér musí zajistit instalaci bezpečnostního termostatu kvůli ochraně
systému proti přehřívání.
Pro umísní připojovacích kabelů svorkovnic používejte příslušné otvory, které jsou ve spodní části kotle.





Table of Contents

Related product manuals