EasyManua.ls Logo

Brainboxes ES-357 - Page 22

Brainboxes ES-357
66 pages
Print Icon
To Next Page IconTo Next Page
To Next Page IconTo Next Page
To Previous Page IconTo Previous Page
To Previous Page IconTo Previous Page
Loading...
ES Range Product Manual
Version 2.9
© Copyright Brainboxes Limited 2013
Page 22 of 66
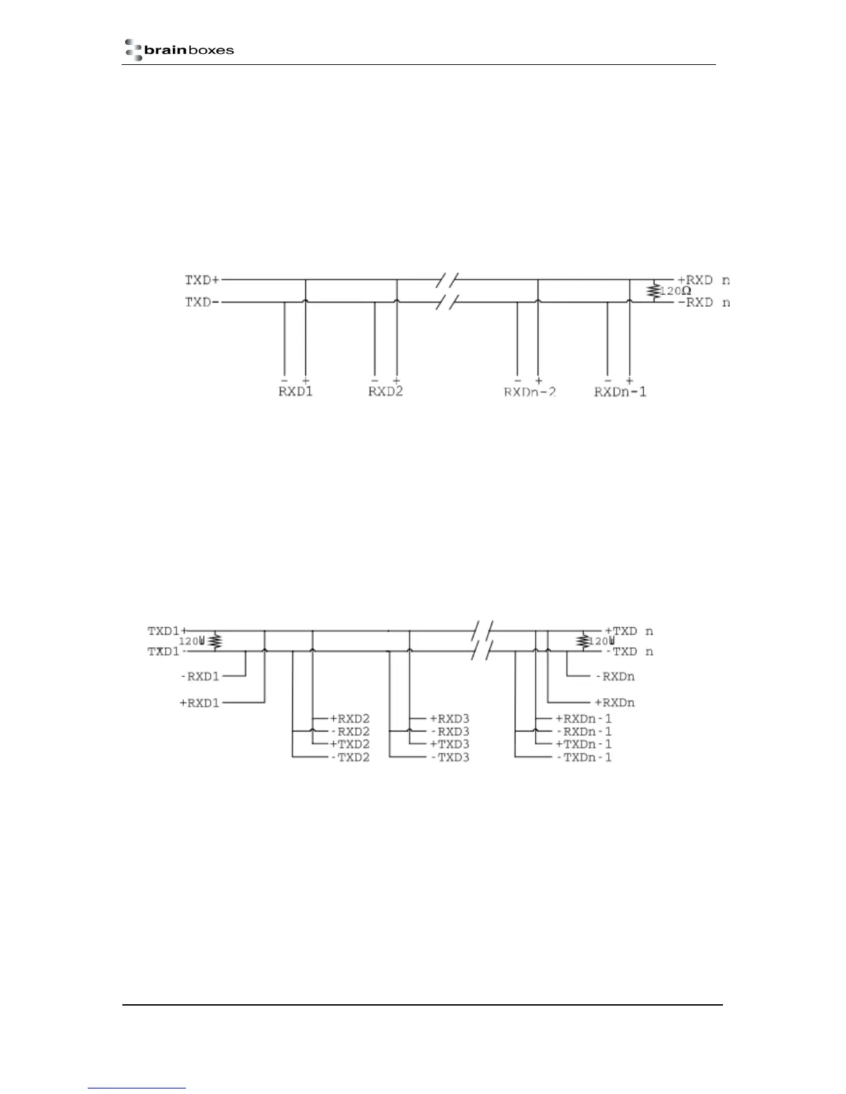
RS-485 One Talker - Many Listeners, Half Duplex.
There are several schemes for connecting RS-485 devices depending on the characteristics of the
system. In many cases there will be only one device, which can transmit, data and all the others
simply listen to it. This scheme is used for theatrical lighting intensity control in the DMX512 standard.
This is shown below. There is NO multiplexing of the TXD and RXD lines. Data is only flowing one
way, from PC outwards, and is thus a Half-Duplex configuration; only one twisted pair cable is
needed.
Note: The Receiver end of MAIN line terminated in characteristic impedance by ONBOARD resistor
networks stubs off the main not terminated. In the above scheme, one RS-485 device is talk only, it
transmits data, but it does not receive any. The other RS-485 devices are received only; they do not
transmit any data at all.
RS-485 Many Talkers - Many Listeners, Half Duplex.
Another popular RS-485 layout is for multiple talkers and multiple listeners. This is shown below. This
is also known as "party line" transmission. It is imperative to have some method of preventing two
devices trying to drive the data lines at the same time. The normal method is to use the RTS line as a
talk enable. The RTS line should go true immediately prior to the data transmission and go false
immediately after the last byte in the stream is sent.
Note: BOTH ends of MAIN line terminated in characteristic impedance, stubs off main line not
impedance, since both ends receive. The twisted pair ends are wired to both RXD+ & TXD+ and
RXD- & TXD- at each RS-485 device!
RS-485 Many Talkers - Many Listeners, Full Duplex.
The RS-485 many talkers, many listeners, Full Duplex system can be used when all the
RS-485 devices have separate Transmit and Receive channels. There is NO multiplexing of the TXD
and RXD signals on the same device. This system is especially useful when there is no flow control
available on the PC, usually due to the use of a third party communications program that prevents the
use of the RTS signal as a "transmit enable" control. It can be used in the following situations:-
a) The PC is connected to only ONE RS-485 device.

Table of Contents

Related product manuals