EasyManua.ls Logo

Brooks 5850S - Figure 3-6: Profibus Line Termination Configuration; Figure 3-7: Recommended TEE and Terminator Resistor; Line Termination Requirements; Special Requirements for High-Speed Communication

Brooks 5850S
50 pages
Print Icon
To Next Page IconTo Next Page
To Next Page IconTo Next Page
To Previous Page IconTo Previous Page
To Previous Page IconTo Previous Page
Loading...
21
Installation and Operation Manual
X-DPT-Profibus-Interface-eng
PN 541-C-068-AAG
November, 2008
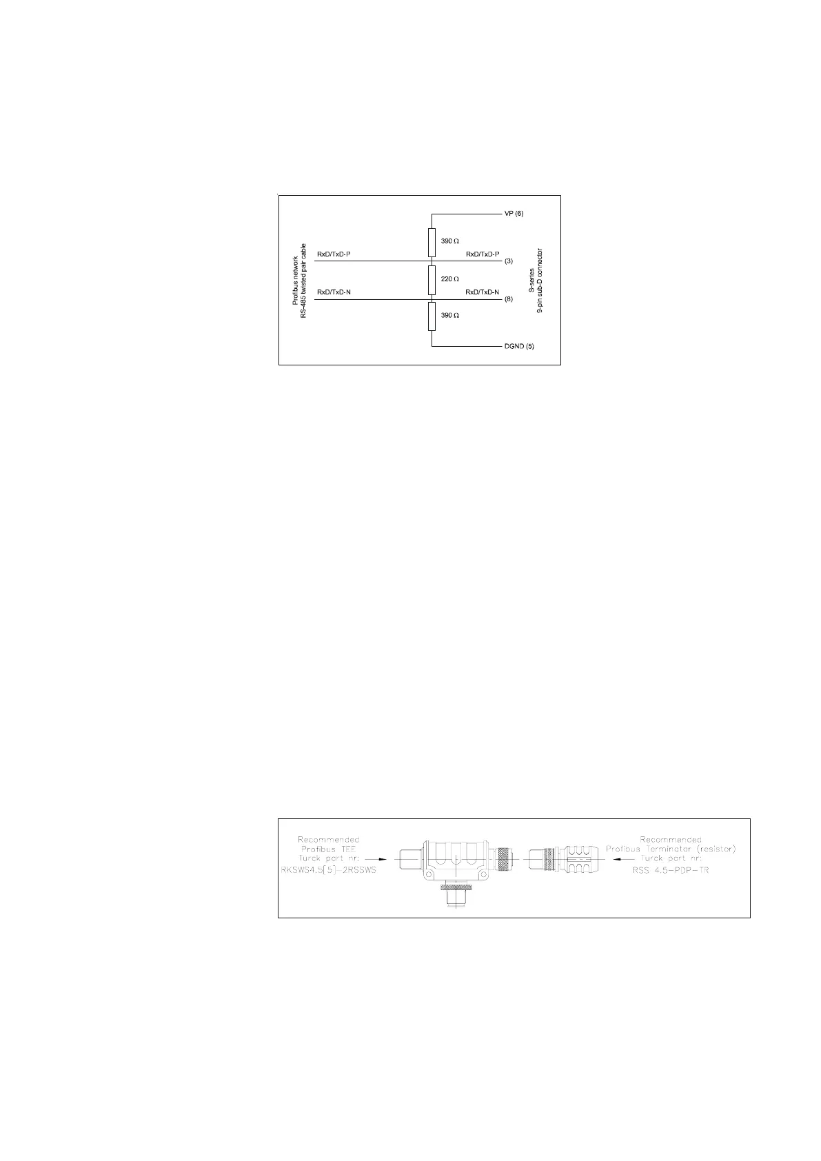
3.6.2 Line termination requirements
Line termination on RS-485 is defined by EN 50170 and should be provided at the
start and at the end of each network cable segment. Figure 3-3 below shows the
line termination configuration at the start/end of a network cable segment.
Figure 3-6: Profibus line termination configuration.
The Brooks Smart TMF series does not provide internal termination resistors.
Therefore, if required at the connector of a Smart TMF series device
(e.g. because it is at the end of a network cable segment) the termination
resistors have to be provided through the connector on the network cable.
Special Profibus connectors, with build-in line termination resistors, which can
be switched on or off, are available from a number of vendors (e.g. Siemens,
Erni Components etc.). These connectors usually provide internal screw
terminals for cable connection and their pin layout is according to the definition
given in EN 50170. Also convenient means are usually provided to connect the
cable shield to the protective ground. Refer to the Profibus User Organization
for more information on availability of these connectors. Profibus Interconnec-
tion Technology, Profibus Guideline PNO doc. #2.142.
For the MF.. series with the M12 Profibus connector a special bus terminator
must be used. This bus terminator, e.g. TURCK p.n. RSS4.5-PDP-TR, contains
het terminator resistors which must be connected to the begin and end of the
Profibus cable. To feed the resistors with the VP (+5V) and GND signal it must
be connected directly to a T-splitter, e.g. TURCK p.n. RKSWS4.5[5]-2RSSWS,
on top of a mass flow device. If a cable is used this cable must contain all five
wires and not just only the two red and green wires for the profibus signals.
See the figure below for example of the hook up of an M12 bus terminator to
the MF.. series.
Figure 3-7: Recommened TEE and Terminator resistor
3.6.3 Special requirements for high-speed communication
In case the network is to be operated at baud rates higher then 1.5 Mbaud, the
cable length in combination with the capacitive load of the station may gener-
ated line reflections, causing interference. This may make communication at
these baud rates impossible.

Table of Contents

Related product manuals