EasyManua.ls Logo

BWT PERLA PRO XS - Installation

BWT PERLA PRO XS
Print Icon
To Next Page IconTo Next Page
To Next Page IconTo Next Page
To Previous Page IconTo Previous Page
To Previous Page IconTo Previous Page
Loading...
8
Notice technique BWT PERLA PRO XS - code P0011650B - Rev 7 - 26/10/2021
INSTALLATION
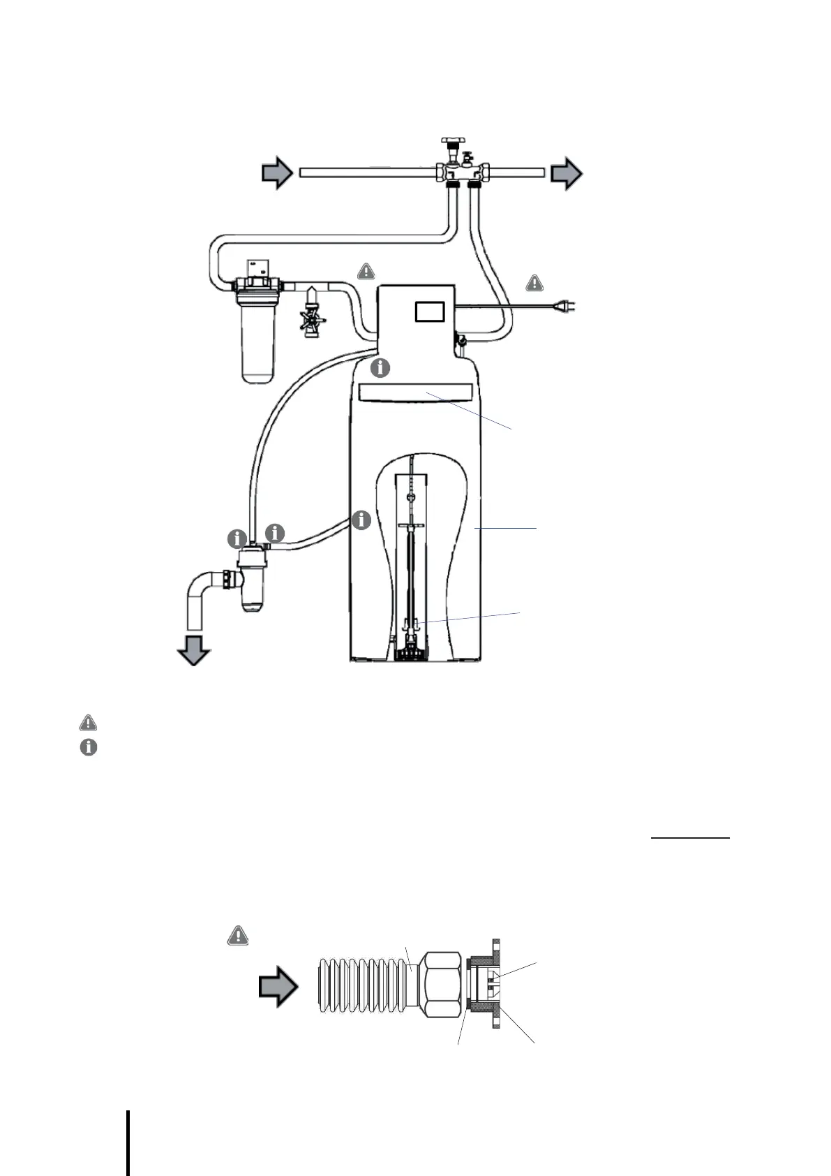
By-pass
Arrivée d’eau à traiter Sortie d’eau traitée
Flexible de raccordement inclus
Filtre conseillé
(option)
Coffret de
commande
Alimentation électrique
Trappe de chargement en sel
Eaux de régénération
Bac à sel
Trop-plein
bac à sel
Régulateur à saumure
Égout
Flexibles entrée / sortie obligatoires
Colliers de serrage
Nos adoucisseurs sont équipés d’un clapet anti-retour placé à l’entrée d’eau sur la bride de raccordement de
la tête. Le clapet anti-retour peut sortir de la bride dans certaines conditions extrêmes de fonctionnement
et de montage. Pour éviter ce phénomène, il est impératif de raccorder l’adoucisseur avec des flexibles
(suivant croquis ci-dessous).
ATTENTION : Ne pas insérer entre la bride de raccordement de l’adoucisseur et le flexible une réduction
de diamètre ou une pièce d’adaptation. Le flexible doit avoir le même diamètre que la bride et doit com-
porter un collet permettant de bloquer le clapet anti-retour dans son logement.
ENTRÉE D’EAU
clapet anti-retour
bride de raccordement de la
tête de l’adoucisseur (entrée)
Français
flexible de raccordement
joint d’étanchéité

Table of Contents

Related product manuals