EasyManua.ls Logo

CESAB S214L - Page 263

Default Icon
324 pages
Print Icon
To Next Page IconTo Next Page
To Next Page IconTo Next Page
To Previous Page IconTo Previous Page
To Previous Page IconTo Previous Page
Loading...
© Cesab 16 – 21 T Code(s): 841, 842, 843
Repair manual: Mast C7000 Model(s): S210, S212, S212S, S212L, S214, S214L, S220D
Publication Number: 7588857-040 Date: 2018-05-01 Applies from serial number: 6384351-
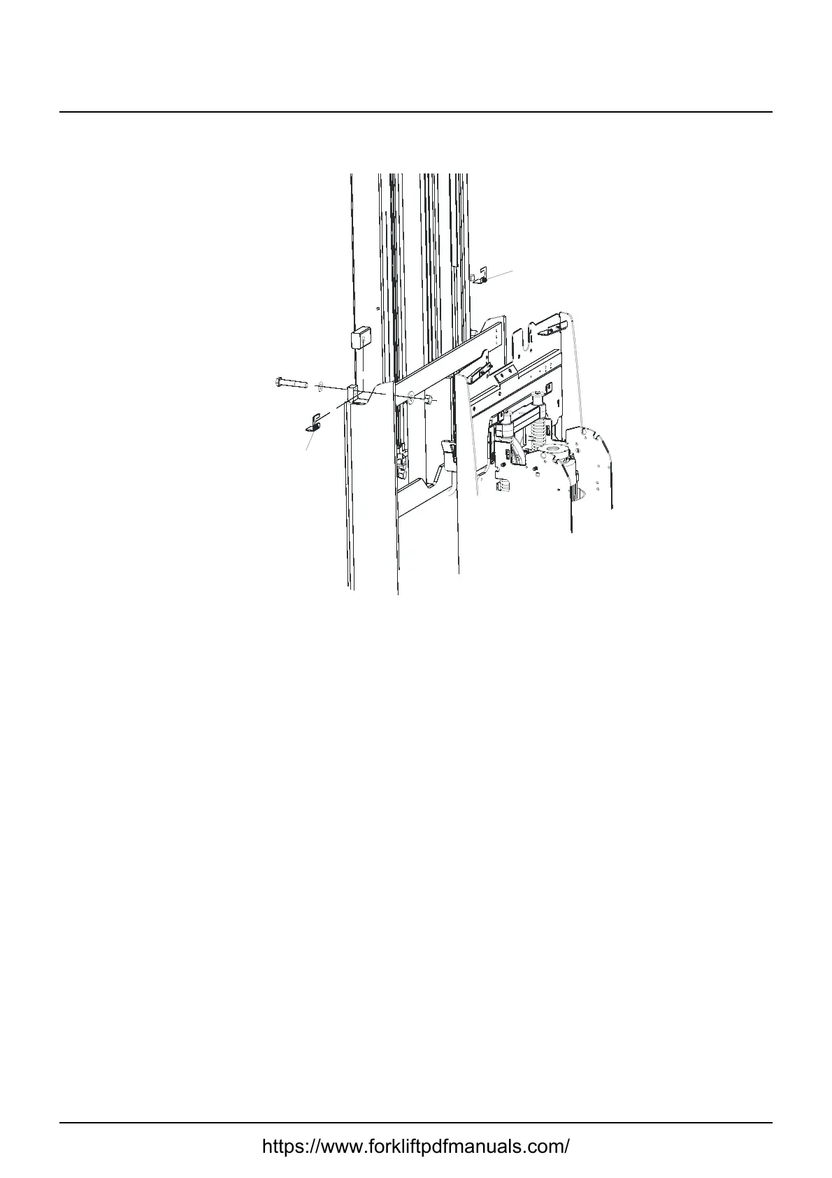
Tighten the screws that hold the mast
See section “16.1.1 Components”.with the correct tightening torque.
https://www.forkliftpdfmanuals.com/

Table of Contents

Related product manuals