EasyManua.ls Logo

Chamberlain LA400 - Installation; Overview of Typical Installation

Chamberlain LA400
48 pages
Print Icon
To Next Page IconTo Next Page
To Next Page IconTo Next Page
To Previous Page IconTo Previous Page
To Previous Page IconTo Previous Page
Loading...
9
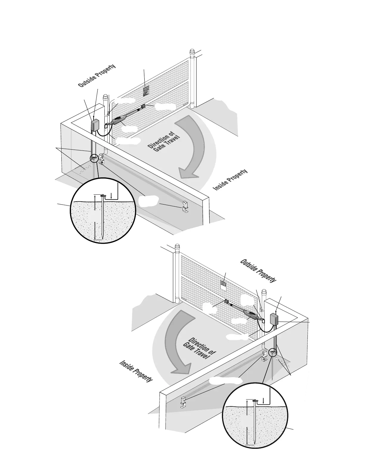
INSTALLATION » OVERVIEW OF TYPICAL INSTALLATION
Mov
ing Gate Can Cause
Inj
ury or Death
KEEP
CL
EAR!
Gate may move at an
y
time
wi
thout
prior war
n
in
g.
Do
no
t let ch
ildren op
er
ate t
h
e gate or
play i
n
th
e gate
area.
This e
nt
r
ance is for
vehicl
es o
nly
Pede
strians mu
st use sep
arate entra
nce
LEFT-HAND GATE
RIGHT-HAND GATE
Warning Sign
Control Box with Batteries
Antenna
PVC Conduit (not
provided) to protect the
low voltage wire from
lawn mowers and string
trimmers.
Hinge
Earth Ground Installation
(Optional)
Photoelectric
Sensors
Operator Cable
Operator
Gate Bracket
Post Bracket
NOTE:
One or more non-contact sensors shall be located
where the risk of entrapment or obstruction exists at
either the opening or closing direction. Care shall be
exercised to reduce the risk of nuisance tripping, such as
when a vehicle trips the sensor while the gate is still
moving.
Warning Sign
Hinge
Antenna
Control Box with
Batteries
Post
Bracket
Gate
Bracket
Operator
Operator Cable
Photoelectric Sensors
PVC Conduit (not provided) to protect the
low voltage wire from lawn mowers and
string trimmers.
Earth Ground
Installation (Optional)
12 Gauge Wire
8 feet
(2.4 m)
12 Gauge Wire
8 feet
(2.4 m)

Table of Contents

Other manuals for Chamberlain LA400

Related product manuals