EasyManua.ls Logo

COMBAT CTU-90 - CTUD External Motor Alternative Wiring & Optional Thermostat;Time Switch

COMBAT CTU-90
54 pages
Print Icon
To Next Page IconTo Next Page
To Next Page IconTo Next Page
To Previous Page IconTo Previous Page
To Previous Page IconTo Previous Page
Loading...
COMBAT
®
CTU UNIT HEATERS INSTALLATION OPERATION AND SER VICE MANUAL
24 of 46
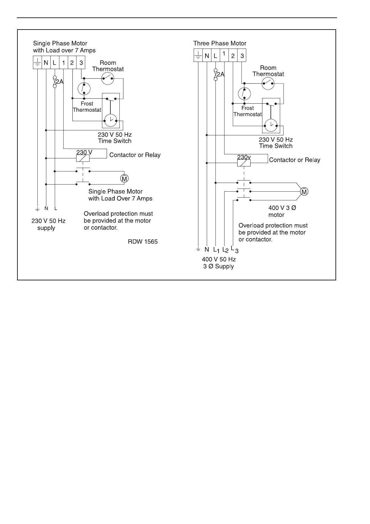
11.6 CTUD External Motor Alternative Wiring & Optional Thermostat/Time Switch

Table of Contents

Related product manuals