EasyManua.ls Logo

COMBISAFE System Mk II - Page 27

COMBISAFE System Mk II
46 pages
Print Icon
To Next Page IconTo Next Page
To Next Page IconTo Next Page
To Previous Page IconTo Previous Page
To Previous Page IconTo Previous Page
Loading...
Loading System MkII Assembly
27
13
25
1325
[
mm]
11
90
1190
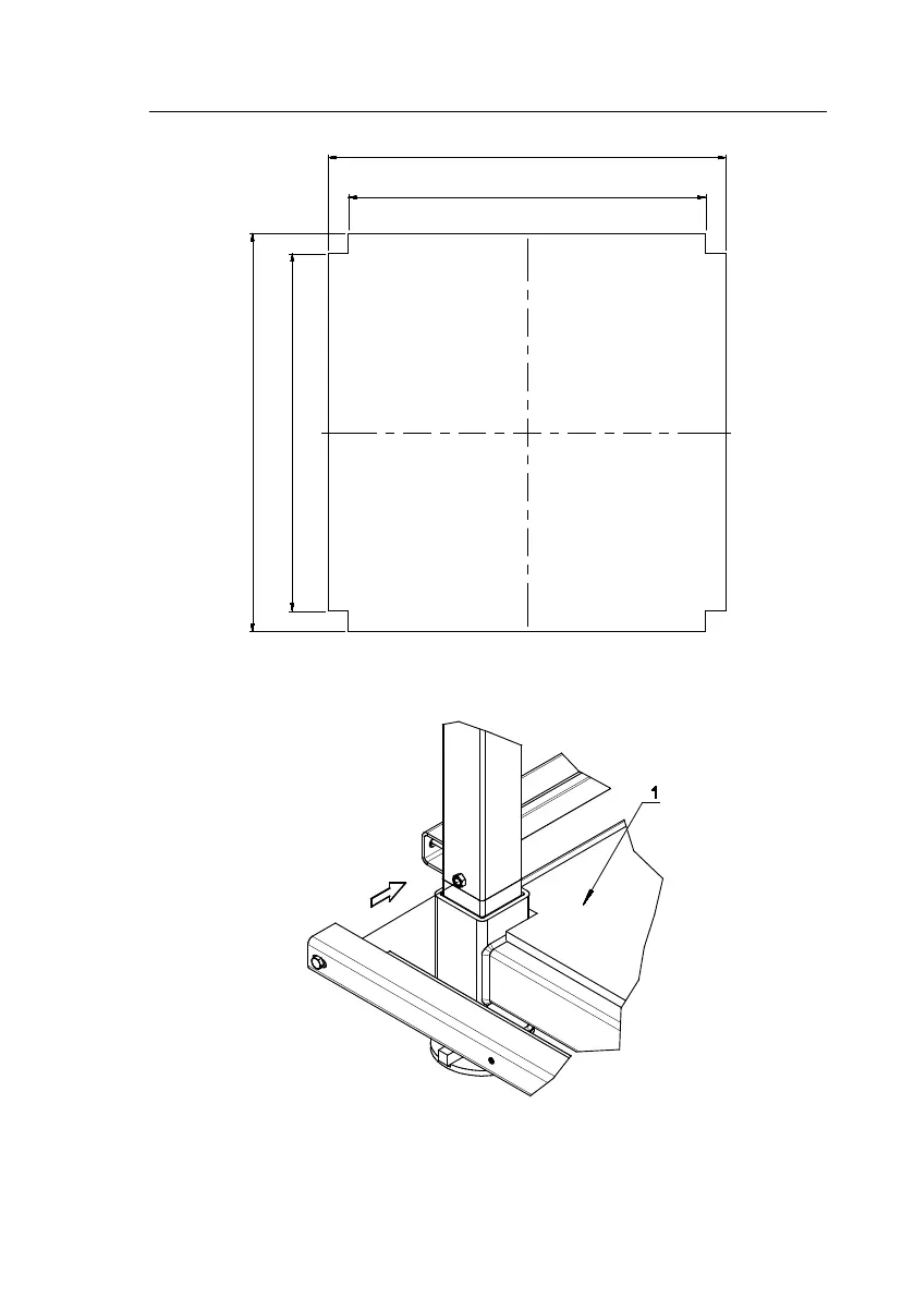
Figure 21. Dimension of the Bottom Plywood Board.
Figure 22. Example of placement of Formwork Support.
1. Bottom Board