EasyManua.ls Logo

Datalogic DS6400 - 7 TYPICAL LAYOUTS; 7.1 LOCAL LONWORKS NETWORK

Datalogic DS6400
159 pages
Print Icon
To Next Page IconTo Next Page
To Next Page IconTo Next Page
To Previous Page IconTo Previous Page
To Previous Page IconTo Previous Page
Loading...
CUSTOM CABLE ELECTRICAL CONNECTIONS
47
4
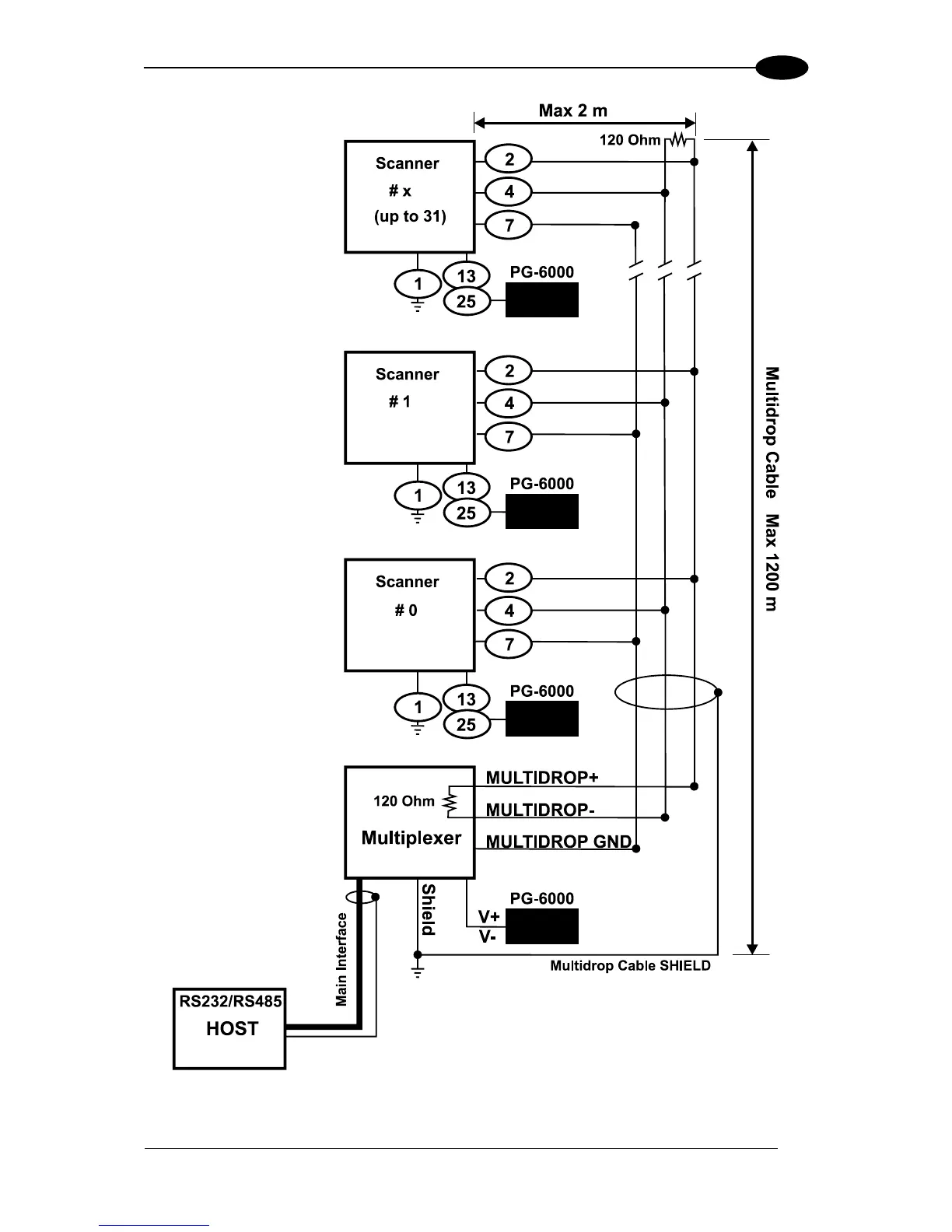
Figure 60 DS6400 Multidrop Connection to a Multiplexer

Table of Contents

Other manuals for Datalogic DS6400

Related product manuals