EasyManua.ls Logo

Datalogic DS6400 - Code Verifier; Outputs

Datalogic DS6400
159 pages
Print Icon
To Next Page IconTo Next Page
To Next Page IconTo Next Page
To Previous Page IconTo Previous Page
To Previous Page IconTo Previous Page
Loading...
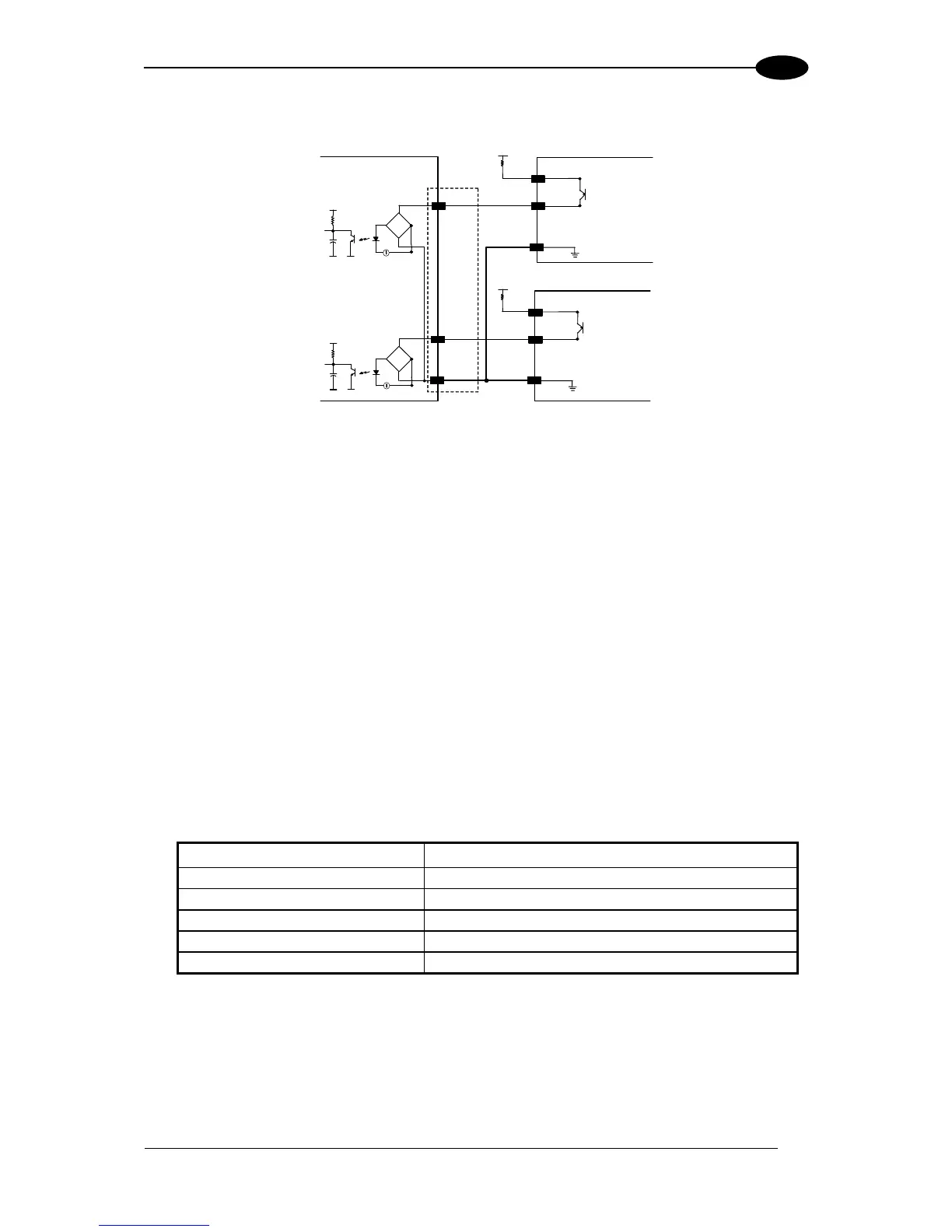
CUSTOM CABLE ELECTRICAL CONNECTIONS
51
4
INPUT 3 - 4 CONNECTIONS USING EXTERNAL POWER
EXTERNAL DEVICE
DS6400
I3A
Vext
Ground
V
+ 5V
~
~
+
-
Ground
V
I4A
+ 5V
~
~
+
-
I34B
Vext
Figure 67 - I3/I4 PNP Input Command using External Power
4.4.1 Code Verifier
If the DS6400 is used as a Code Verifier, the verifier code can be configured in software
through the Genius™ configuration program. However it is also possible to use one of the
inputs to trigger when the scanner should store a code read as the verifier code.
The Code Verifier parameter must be enabled, and the configuration parameters to allow
correct Code Type reading must be saved to the scanner in order to read the verifier code.
When the selected input is activated, the next read code will be stored as the verifier code in
the scanner's non-volatile (Flash) memory.
For more details see the Verifier Parameters in the "6-8 K Software Configuration Parameter
Guideor Help file.
4.5 OUTPUTS
Three general purpose outputs are available. The electrical features are given below:
Outputs 1 and 2
Maximum Voltage
30 V
Collector Current (pulse)
130 mA Max.
Collector Current (continuous)
40 mA Max.
Saturation Voltage (VCE)
1 V at 10 mA Max.
Maximum Power Dissipation
90 mW at 50°C (Ambient temperature)

Table of Contents

Other manuals for Datalogic DS6400

Related product manuals