EasyManua.ls Logo

Denyo DCA-150LSKE - 9-1 Maintenance Schedule

Denyo DCA-150LSKE
102 pages
Print Icon
To Next Page IconTo Next Page
To Next Page IconTo Next Page
To Previous Page IconTo Previous Page
To Previous Page IconTo Previous Page
Loading...
- 65 -
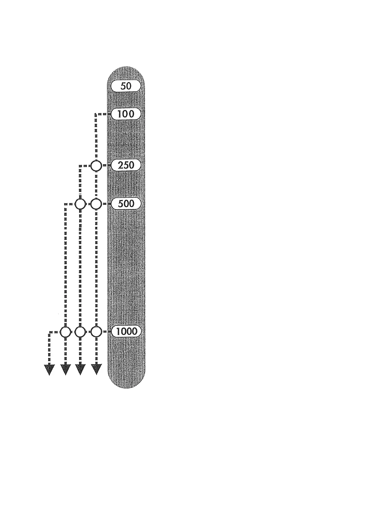
9-1 Maintenance schedule
50 hours: Checking/First 50 hours
* Cleaning on nylon and rubber hose
100 hours: Checking/every 100 hours
* Checking on nylon and rubber hose
125 hours: Checking/first 125 hours
* Replacement of engine oil
* Replacement of engine oil filter cartridge
250 hours: Checking/every 250 hours
* Replacement of engine oil (for CF-4 engine oil)
* Replacement of engine oil filter cartridge
(for CF-4 engine oil)
* Cleaning of air cleaner element
* Measurement of generator insulation resistance
(once a month)
* Checking on battery specific gravity
* Emission carbon deposition check.
* Maintenance of output voltage selector switch.
(once a month)
500 hours: Checking/every 500 hours
* Replacement of engine oil
(for CH-4CI-4JASO DH-1 engine oil)
* Replacement of engine oil filter cartridge
(for CH-4CI-4JASO DH-1 engine oil)
* Replacement of fuel pre filter cartridge
* Cleaning of radiator and intercooler
* Checking for terminal and connection of the circuit
* Checking/every 100 and 250 hours is also required.
1000 hours: Checking/every 1000 hours
* Replacement of fuel filter cartridge
* Cleaning inside of environmental base
* Cleaning inside of fuel tank
* Replacement of air cleaner element
* Checking on rubber suspension
* Checking on lining
* Checking/every 100, 250, and 500 hours is also
required.
On the engine system, main checking items only are shown in this manual.
For details, refer to the instruction manual for the engine furnished separately.

Related product manuals