EasyManua.ls Logo

Digi DS-685L Series - Hardware Detail; Ds-685 L; NRFI Electrical Connection Block Diagram; RFI Electrical Connection Block Diagram

Digi DS-685L Series
26 pages
Print Icon
To Next Page IconTo Next Page
To Next Page IconTo Next Page
To Previous Page IconTo Previous Page
To Previous Page IconTo Previous Page
Loading...
DS-685L/F Series Service Manual
Page No. 16
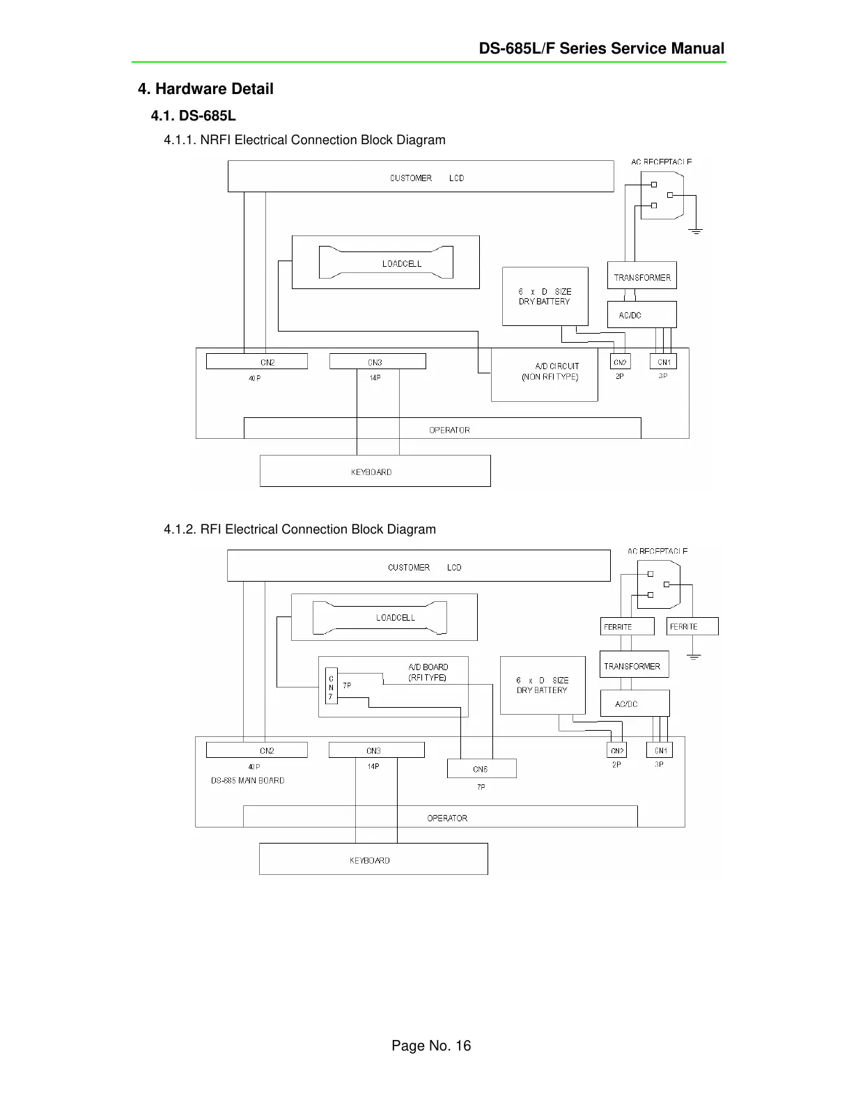
4. Hardware Detail
4.1. DS-685L
4.1.1. NRFI Electrical Connection Block Diagram
4.1.2. RFI Electrical Connection Block Diagram
All manuals and user guides at all-guides.com

Related product manuals