EasyManua.ls Logo

Doosan D30G - Tilt Cylinder Specifications

Doosan D30G
74 pages
Print Icon
To Next Page IconTo Next Page
To Next Page IconTo Next Page
To Previous Page IconTo Previous Page
To Previous Page IconTo Previous Page
Loading...
Vehicle System Specification 8
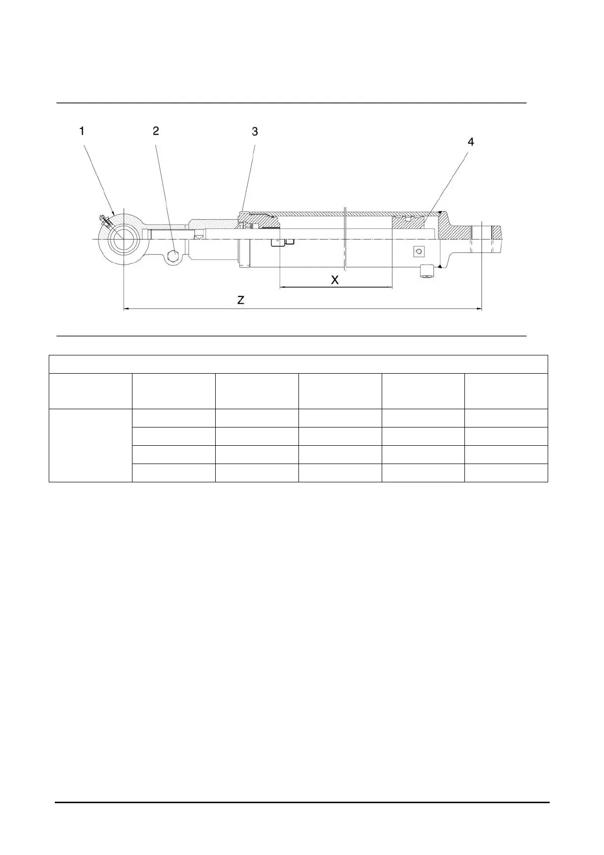
Tilt Cylinder
TILT CYLINDER
Model Tilt Gp
Part No.
Forward Tilt
Angle*
Backward
Tilt Angle*
Cyl. Stroke (X)
mm (in)
Cyl. Closed (Z)
mm (in)
A375282 12° 167 (6.57) 514 (20.24)
A375322 110 (4.33) 571 (22.48)
A375324 92 (3.62) 589 (23.19)
D20G, G20G
D25G, G25G
D30G, G30G
A375335 10° 148 (5.83) 533 (20.98)
* Permissible tolerance of 1/2°
(1) Adjust pivot eye to dimension (Z) with cylinder
closed.
(2) Torque for bolt............ 95 ±15 N·m (70 ±10 lb·ft)
(3) Torque for head.............................270 ±30 N·m
(200 ±22 lb·ft)
(4) Torque for piston nut......................270 ±30 N·m
(200 ±22 lb·ft)

Table of Contents

Other manuals for Doosan D30G

Related product manuals