EasyManua.ls Logo

Doosan D30G - Lift & Tilt Mounting Group

Doosan D30G
74 pages
Print Icon
To Next Page IconTo Next Page
To Next Page IconTo Next Page
To Previous Page IconTo Previous Page
To Previous Page IconTo Previous Page
Loading...
Vehicle System Specification 13
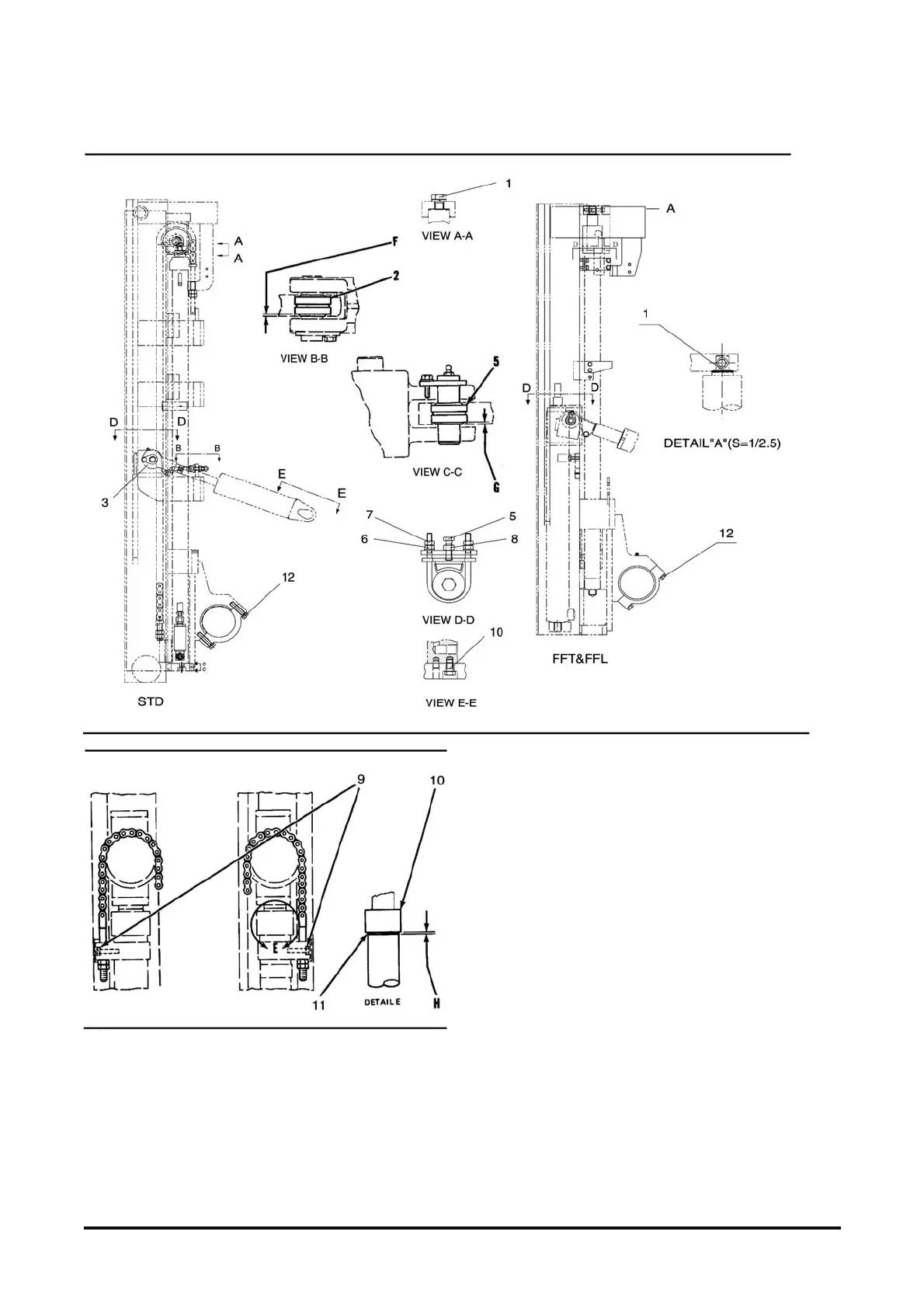
Lift & Tilt Mounting Group
(1) With chains adjusted for equal tension, run mast
to full lift. If mast does not kick (move) to one
side, no shims are needed. If mast does kick
(move) to one side, disconnect cylinder from the
bar on that side. Add shim, connect cylinder,
adjust chains and run mast to full lift to check for
kick. Repeat process if necessary. The total shim
pack must not be more than three shims maxi-
mum.
(2) Install bearing outer race to a depth of (F) .........
.............................. 4.5±0.8 mm (.177±.031 in).
(3) Tilt cylinder installation shown.
(4) Install bearing outer race to a depth of (G)
.............................. 4.5±0.8 mm (.177±.031 in).
(5) (Std Mast Only) Tighten the bolt, until the middle
plastic shim touches the cylinder slightly.
(6) (Std Mast Only) Tighten the nut, until the U-Bolt
touches the cylinder slightly. Repeat procedure
(5), (6), until the torque is to 20 N·m (15 lb·ft).
(7) (Std Mast Only) Tighten the nut, the torque is
55N·m (40lb·ft)
(8) (Std Mast Only) Tighten the nut, the torque is
100N·m (74 lb·ft).

Table of Contents

Other manuals for Doosan D30G

Related product manuals