EasyManua.ls Logo

Doosan DB33A - Page 30

Doosan DB33A
78 pages
Print Icon
To Next Page IconTo Next Page
To Next Page IconTo Next Page
To Previous Page IconTo Previous Page
To Previous Page IconTo Previous Page
Loading...
26
¡
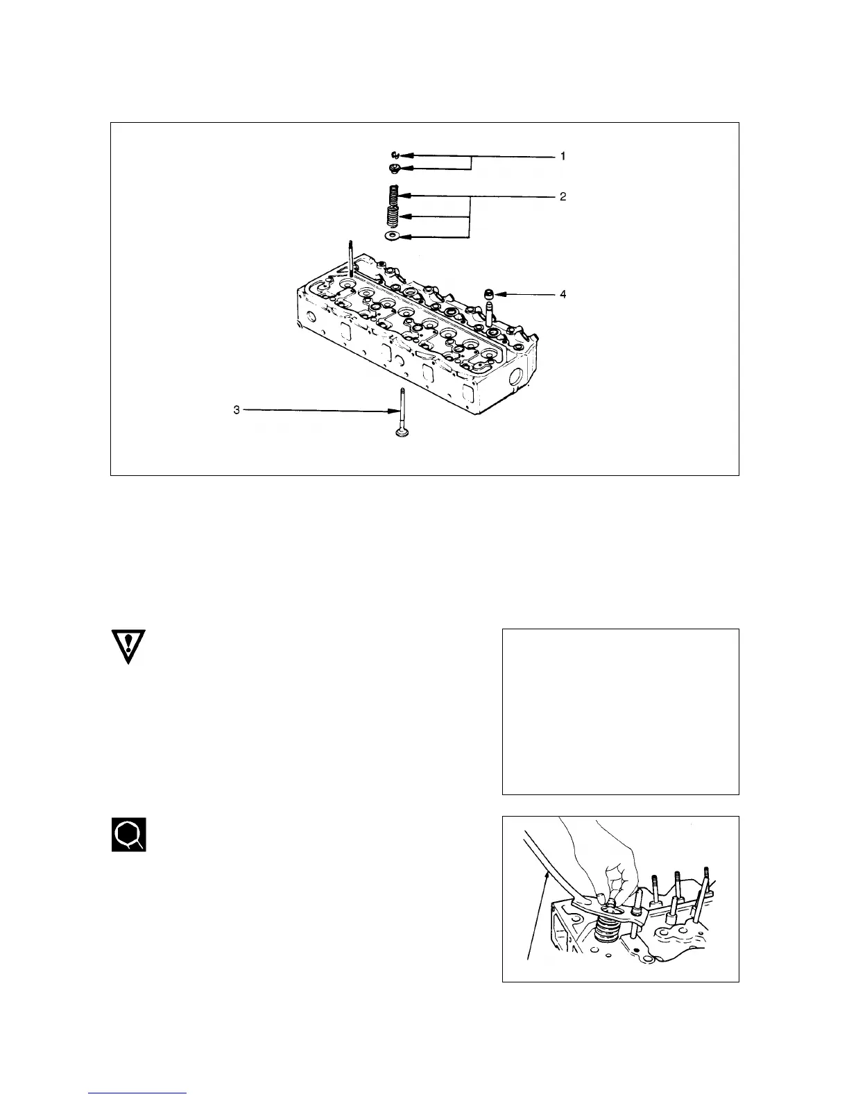
Cylinder head assembly
¡ Retainer and valve cotter (1)
Spring compressor
<Disassembly steps>
1. Spring retainer and valve cotter
2. Spring and spring seat
3. Valve
4. Valve stem oil seal
Important operations
Mark the cylinder No. each component when it
disassembles.
Valve spring compressor
¡ Valve spring
¡ Valve
¡ Valve seat

Table of Contents

Related product manuals