EasyManua.ls Logo

Doosan DB33A - Valve Stem Oil Seal; Intake and Exhaust Valves

Doosan DB33A
78 pages
Print Icon
To Next Page IconTo Next Page
To Next Page IconTo Next Page
To Previous Page IconTo Previous Page
To Previous Page IconTo Previous Page
Loading...
46
¡¡
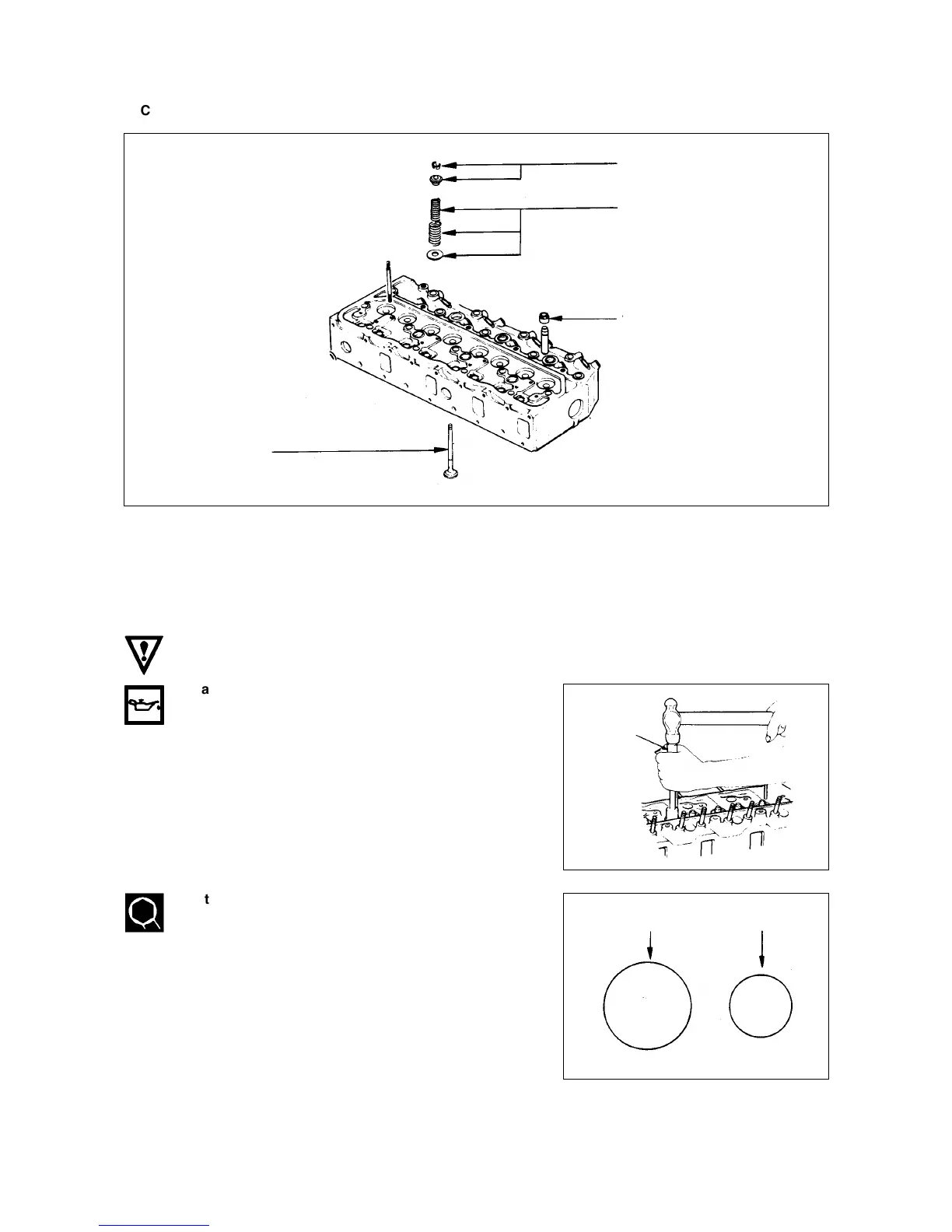
Cylinder head assembly
<Disassembly steps>
1. Valve stem oil seal
2. Valve
3. Spring seat and spring
4. Spring retainer and cotter key
Important operation
¡¡
Valve stem oil seal (1)
Installer
Lubricate the oil seals and valve guides and install the
oil seals with an installer.
¡¡
Intake and exhaust valves (2)
1. Lubricate valve stems with engine oil.
2. Install the valves to the intake and exhaust guides.
Install the valves to their original lapped valve
seats.
Installer
(Valve face)
Small
Big
Intake valve
Exhaust valve
4
2
3
1

Table of Contents

Related product manuals