EasyManua.ls Logo

Duplo DP-S510 - Document Cover Open;Close Sensor

Duplo DP-S510
298 pages
To Next Page IconTo Next Page
To Next Page IconTo Next Page
To Previous Page IconTo Previous Page
To Previous Page IconTo Previous Page
Loading...
33
z Scanner Section
chap.2
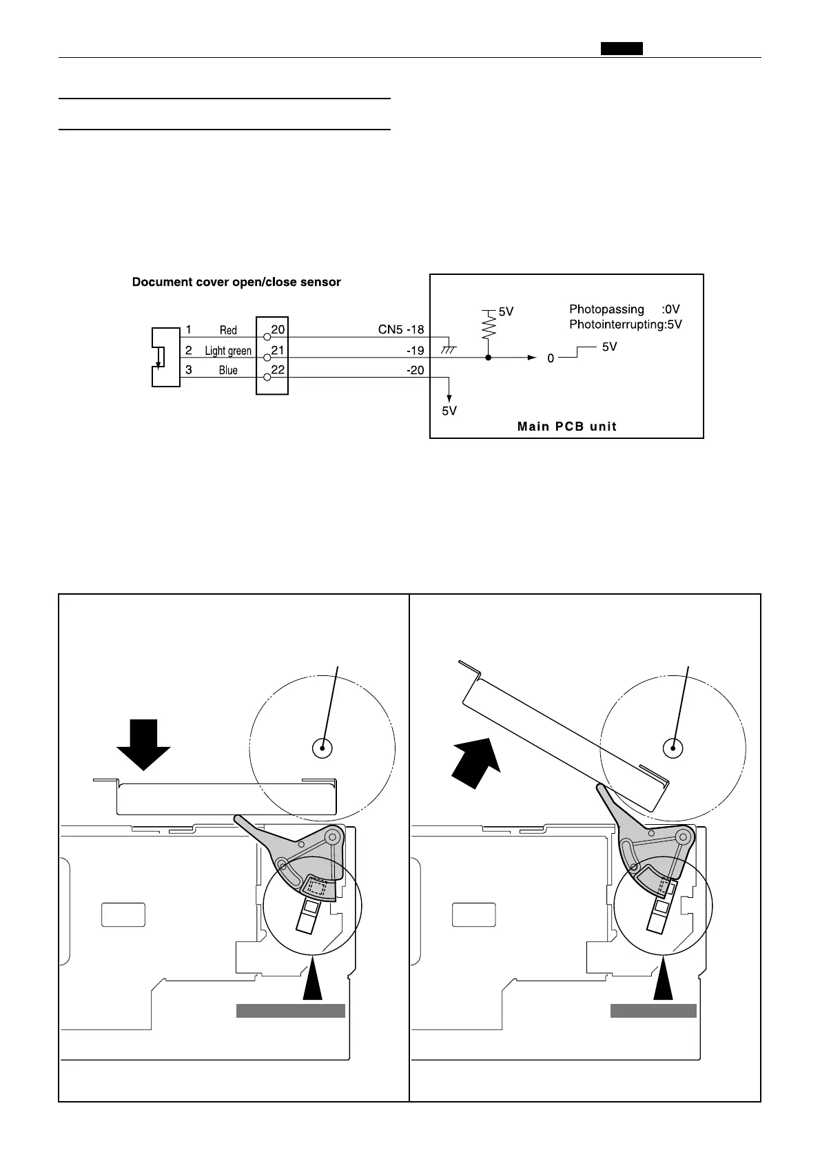
Description
The document cover open/close sensor detects opening and closing of the document cover (or S3-ADF if the S3-ADF is
installed).
Operation
Sensor is photointerrupted with the document cover closed, The photointerrupter rotates as the document
cover is opened and sensor is photopassed.
Circuit
(3) Document Cover Open/Close Sensor
2When the document cover is closed
Document cover open/close sensor : photointerrupted
2When the document cover is opened
Document cover open/close sensor : photopassed
R8S02E04e
R8S02011
Fulcrum Fulcrum
OPEN
CLOSE
Photointerrupted Photopassed

Table of Contents

Related product manuals