EasyManua.ls Logo

ECOWITT HP2551CA - Page 18

ECOWITT HP2551CA
90 pages
Print Icon
To Next Page IconTo Next Page
To Next Page IconTo Next Page
To Previous Page IconTo Previous Page
To Previous Page IconTo Previous Page
Loading...
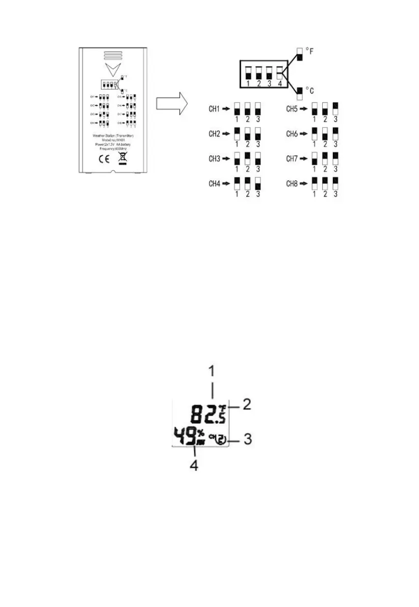
Figure 13: Dip Switch diagram
5. Insert two AA batteries.
6. Verify the correct channel number (CH) and temperature units of
measure (°F vs. °C) are on the display, as shown in Figure 14.
(1) Temperature
(2) Temperature units (°F vs. °C)
(3) Channel number
(4) Relative humidity
Figure 14: sensor LCD display
7. Close the battery door.
Repeat for the additional remote transmitters, verifying each remote
is on a different channel.

Table of Contents

Related product manuals