EasyManua.ls Logo

Electrolux GOOD - Water Supply Requirements; Drain Requirements

Electrolux GOOD
93 pages
Print Icon
To Next Page IconTo Next Page
To Next Page IconTo Next Page
To Previous Page IconTo Previous Page
To Previous Page IconTo Previous Page
Loading...
16
installed and grounded in accordance with all local
codes and ordinances or in the absence of local codes,
with the National Electrical Codes, ANSI/NFPA 70
(latest edition). If in doubt, call a licensed electrician.
DO NOT cut off or alter the grounding prong on the
power supply cord. In situations where a two-slot
receptacle is present, it is the owner’s responsibility
to have a licensed electrician replace it with a
properly grounded three prong grounding type
receptacle.
WATER SUPPLY REQUIREMENTS
Hot and cold water faucets MUST be installed within
42 inches (107 cm) of your washer’s water inlet. The
faucets MUST be 3/4 inch (1.9 cm) garden hose type
so inlet hoses can be connected. Water pressure MUST
be between 30 and 120 pounds per square inch
(maximum unbalance pressure, hot vs. cold, 10 psi.)
Your water department can advise you of your water
pressure. The hot water temperature should be about
140 degrees F (60 degrees C).
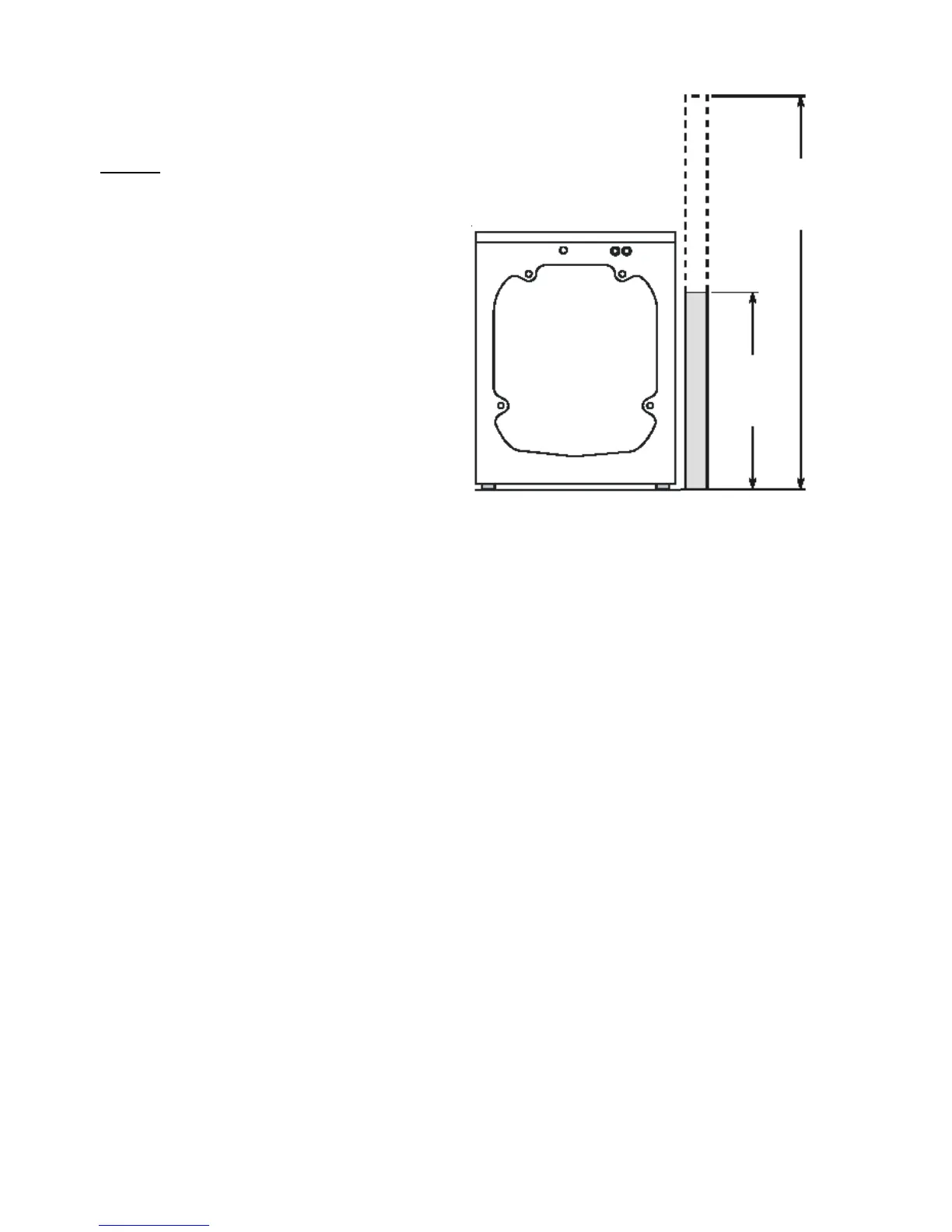
DRAIN REQUIREMENTS
1. Drain capable of eliminating 17 gals (64.3 L) per
minute.
2. A standpipe diameter of 1-1/4 in. (3.18 cm)
minimum.
3. The standpipe height above the floor should be:
Minimum height: 24 in. (61 cm)
Maximum height: 96 in. (244 cm)
NOTE:
Drain hose attached to the washer can reach a 90 in.
(229 cm) high standpipe. For a higher standpipe, use
hose P/N 134369410 available from an authorized parts
distributor.
BACK
96 in.
(244 cm)
Max
24 in
(61 cm)
Min

Table of Contents

Related product manuals