EasyManua.ls Logo

ELNA 7300 - Section VIII: Taking Care of Your Machine; Cleaning Hook Area and Feed Dog

ELNA 7300
196 pages
Print Icon
To Next Page IconTo Next Page
To Next Page IconTo Next Page
To Previous Page IconTo Previous Page
To Previous Page IconTo Previous Page
Loading...
160
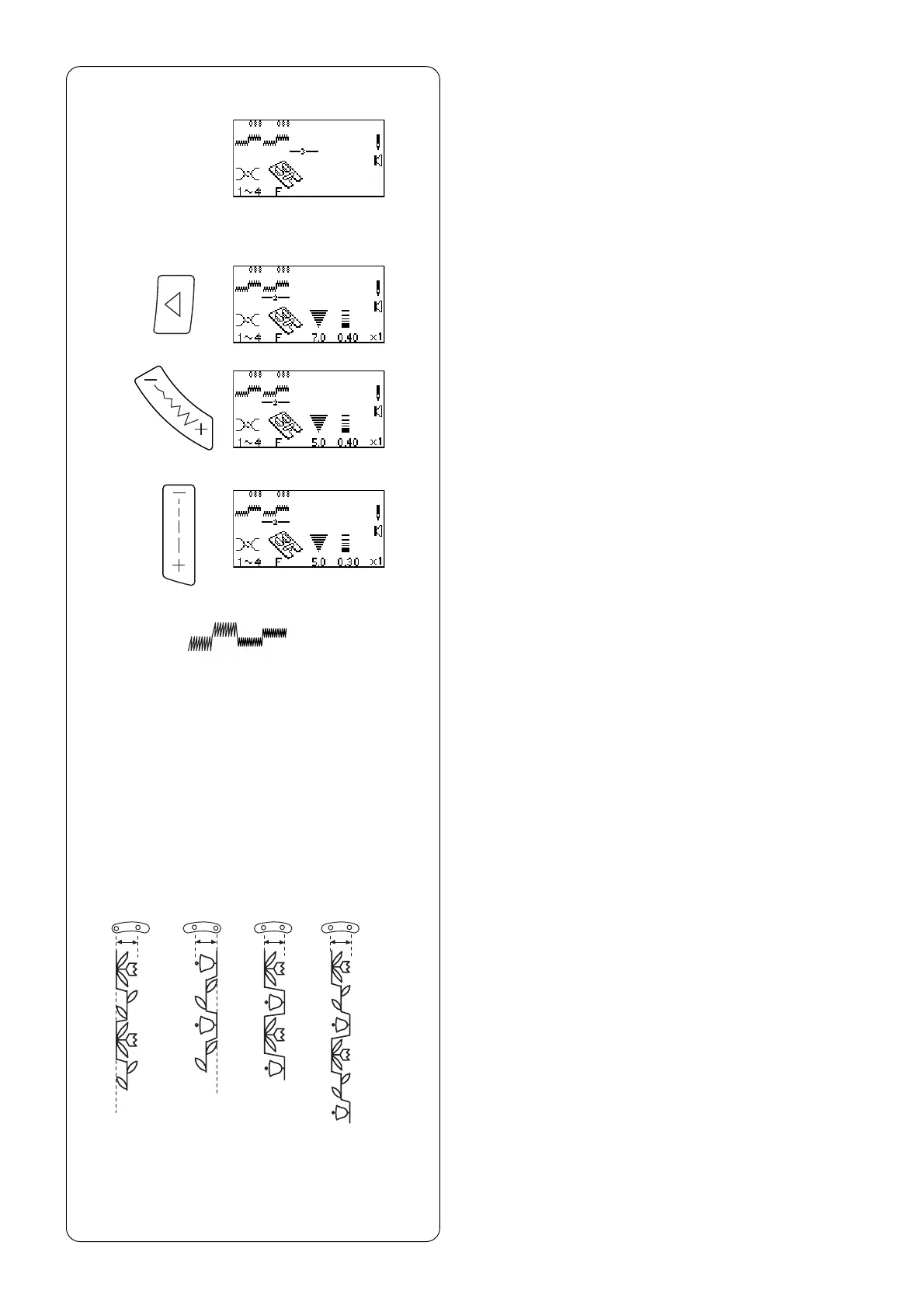
Individually Adjusting Stitch Width or
Length
If the cursor is positioned under a stitch in the
programmed sequence, the stitch width or length
adjustment is applied only to that stitch.
z Program 088 two times.
z
x
c
v
b
x Press “Review Memory Left” key to move cursor.
c Press “–” on “Stitch Width/Needle Position” key.
v Press “–” on “Stitch Length” key.
b Place fabric and stabilizer under foot and sew.
NOTE: If the cursor is to the right of the last stitch
in the sequence and either the “Stitch Width/Needle
Position” key or “Stitch Length” key is pressed then
all individually adjusted settings will be replaced
with the uniformly adjusted setting.
Alignment of Stitches Within a Sequence
Often stitches in a sequence have different needle
start positions – left, center or right. Your machine
will automatically determine a common alignment
point based on the stitches in the sequence. There
are 4 possibilities:
q Left and center needle positions are aligned to left.
w Right and center needle positions are aligned to
right.
e Left and right needle positions are aligned to
center.
r Left, center and right needle positions are aligned
to center.
qwer

Table of Contents

Other manuals for ELNA 7300

Related product manuals