EasyManua.ls Logo

EOS EMOTEC HCS 9003 - P3 Humid Mode

EOS EMOTEC HCS 9003
47 pages
Print Icon
To Next Page IconTo Next Page
To Next Page IconTo Next Page
To Previous Page IconTo Previous Page
To Previous Page IconTo Previous Page
Loading...
35
GB
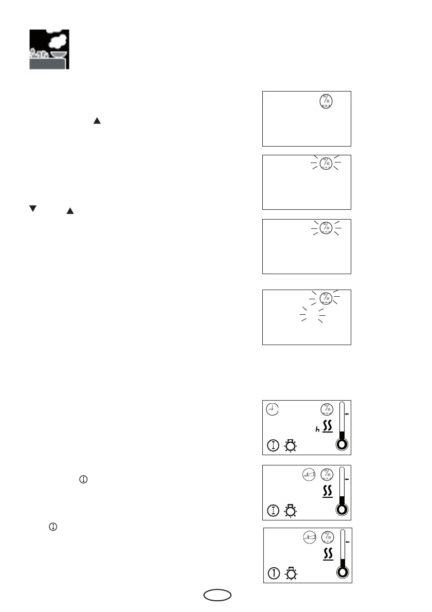
The default values are set to a temperature
of 60°C and a humidity of 60%.
if no humidity sensor is installed or it is
deactivated the value set and displayed
indicates a time pulse value (e.g. 80% =
vaporiser is switched on for 4 minutes and
off for 1 minutes)
Press the
button to start the steam
operation mode.
If you programmed the unit while it was run-
ning, you must switch off and restart it using
the button.
After starting up, the display alternates bet-
ween the time of day, the preset humidity
level and the remaining heating time.
P3 Humid mode
P 3
1
1
0
20:03
05:58
60
For humidity operation adjustment please
press „Mode“ button.
Afterwards the button until in the display
the humidity symbol and „P3“ appears.
Please confi rm with the „Mode“ button.
Please chose the wished value with the
and buttons.
0 = Finnish operation
1 = Humidity operation
Please confirm with a long press on the
„Mode“ button until the new value is ashing
on the display.
Afterwards the displays shows „P3 for
short

Table of Contents

Other manuals for EOS EMOTEC HCS 9003

Related product manuals