EasyManua.ls Logo

ETS e1 - Assembly Procedures

ETS e1
32 pages
Print Icon
To Next Page IconTo Next Page
To Next Page IconTo Next Page
To Previous Page IconTo Previous Page
To Previous Page IconTo Previous Page
Loading...
e1 Assembly and User Manual - 9
30596-02A
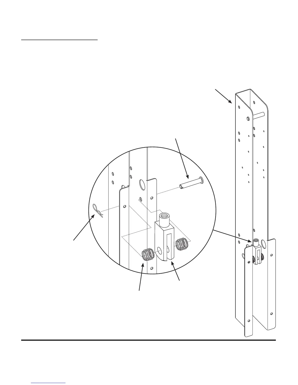
Assembly Procedures
Lower Clevis Fork Assembly
Insert the larger clevis pin (3/8” x 2 1.
1/64”) through the hole directly below
the large hole in one of the stand up-
rights, as shown.
Slide a centering spring, a clevis fork 2.
and then another centering spring onto
the clevis pin and insert the pin the rest
of the way through the upright.
Secure the clevis pin by inserting the 3.
straight portion of a bridge pin through
the small hole in the end of the
clevis pin.
Repeat for the other 4.
stand upright. Make
sure the clevis forks
point upwards as
shown.
STAND UPRIGHT
CLEVIS PIN
CLEVIS FORK
BRIDGE PIN
CENTERING SPRING

Related product manuals