EasyManua.ls Logo

Exakt 35 - Page 29

Exakt 35
48 pages
Print Icon
To Next Page IconTo Next Page
To Next Page IconTo Next Page
To Previous Page IconTo Previous Page
To Previous Page IconTo Previous Page
Loading...
Maintenance
EXAKT 35 / 50 Edition 04/09.2002
29
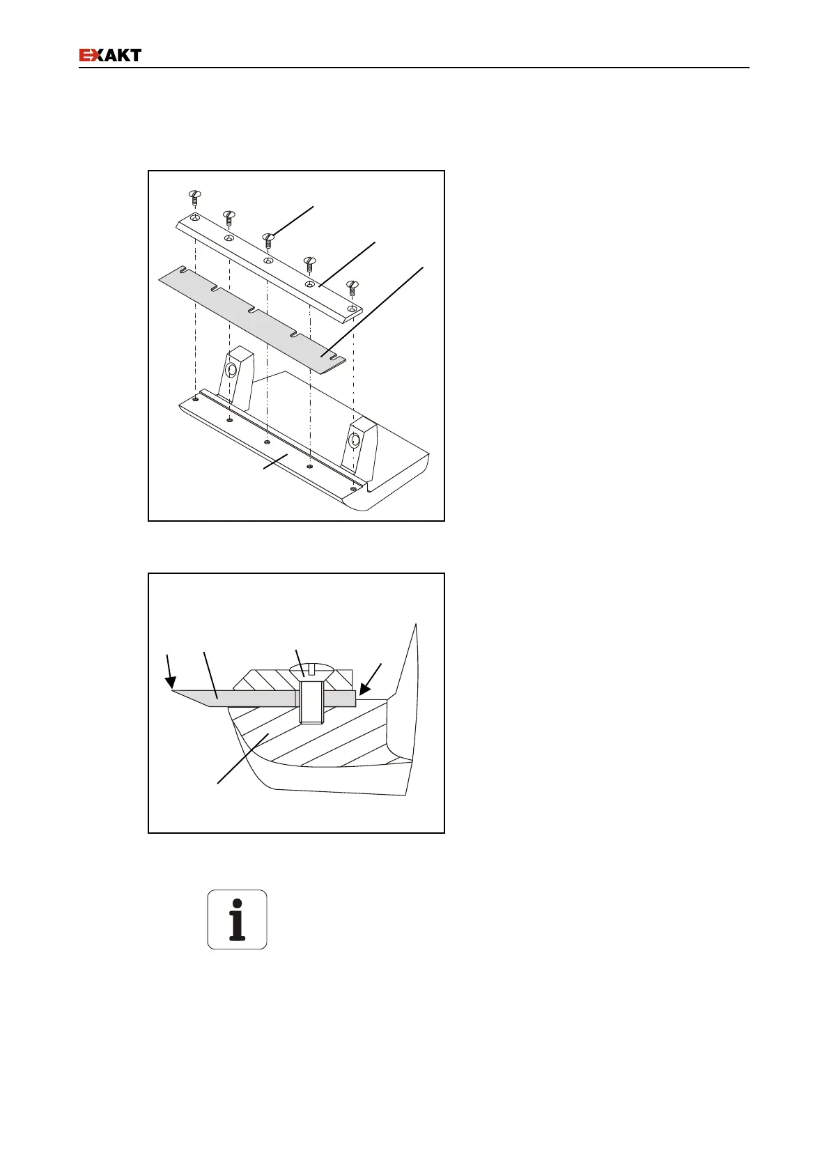
!" Loosen and remove the fastening
screws (Fig. 18/a).
!" Remove the pressure plate (Fig. 18/b).
!" Remove the scraper knife to be
replaced (Fig. 18/c).
!" Clean the scraper socket (Fig. 18/d)
and the pressure plate (Fig. 18/b).
!" Insert the new scraper knife.
!" Refit the pressure plate (Fig. 18/b).
!" Slightly tighten the fastening screws
(Fig. 18/a) (make sure that the knife
can still be moved by hand).
Fig. 18: Replacing the scraper knife
!" Push the scraper knife (Fig. 19/c)
against the rear stop (Fig. 19/A).
!" Align the scraper knife (Fig. 19/c) on
the scraper socket (Fig. 19/d).
!" Carefully tighten the fastening screws
(Fig. 19/a).
Fig. 19: Fastening the scraper knife
Note
With use, the edge of the scraper knife is ground away. If
scraping performance deteriorates the knife can be reversed in
the scraper socket. As the knife is ground against the roller it
will be sharpened and once again conform to the front roller
(Fig. 19/K).
b
c
a
d
c
a
A
d
K

Table of Contents

Related product manuals