EasyManua.ls Logo

Fayat Group DYNAPAC CA6000 - Securing CA2500-CA4600 for loading

Default Icon
178 pages
Print Icon
To Next Page IconTo Next Page
To Next Page IconTo Next Page
To Previous Page IconTo Previous Page
To Previous Page IconTo Previous Page
Loading...
Operation
4812163801.pdf 2019-04-30
Amplitude - Changeover
1
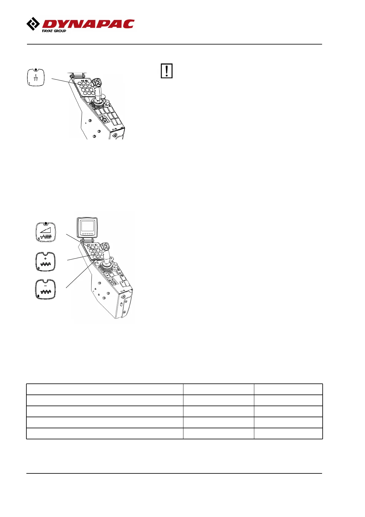
Fig. Control panel
1. High amplitude
The amplitude setting must not be change when
vibration is in operation
Switch the vibration off and wait until vibration
stops before changing amplitude.
The amplitude setting must not be change when
vibration is in operation
Switch the vibration off and wait until vibration
stops before changing amplitude.
By pressing button (1) high amplitude is achieved.
Adjustable (Variable) frequency - (Optional)
Fig. Function keys
1. Adjustable (Variable) frequency
2. Frequency, increase
3. Frequency, decrease
1
2
3
Optimum vibration speed depends on the soil type that
is to be compacted and the chosen vibration amplitude.
If double jumps occur, reduce the vibration frequency
if possible as an initial measure.
If this does not help, select a lower amplitude instead,
if possible.
Soil type(s) High amplitude Low amplitudeSoil type(s) High amplitude Low amplitude
Fine grade soils (clay and silt) 24 - 26 Hz 28 - 30 HzFine grade soils (clay and silt) 24 - 26 Hz 28 - 30 Hz
Mixed grade soils (loamy and silty) 24 - 26 Hz 29 - 31 HzMixed grade soils (loamy and silty) 24 - 26 Hz 29 - 31 Hz
Coarse grade soils (sand and gravel) 26 - 28 Hz 31 - 33 HzCoarse grade soils (sand and gravel) 26 - 28 Hz 31 - 33 Hz
Rock fill (crushed rock and rockfill) 24 - 26 Hz 31 - 33 HzRock fill (crushed rock and rockfill) 24 - 26 Hz 31 - 33 Hz
82

Table of Contents

Related product manuals