EasyManua.ls Logo

Finn T75 HydroSeeder - Page 38

Finn T75 HydroSeeder
76 pages
Print Icon
To Next Page IconTo Next Page
To Next Page IconTo Next Page
To Previous Page IconTo Previous Page
To Previous Page IconTo Previous Page
Loading...
32
8
2
11
6
5
9
11
10
7
2
4
1
3
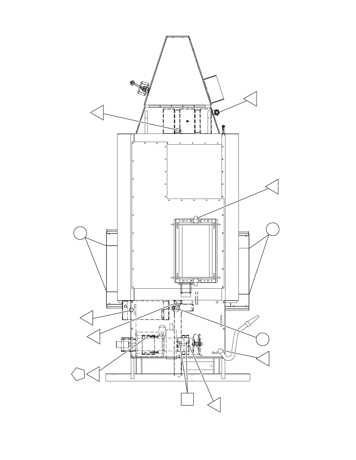
Figure 9 – Lubrication and Adjustment Points
MACHINE LUBRICATION DIAGRAM

Other manuals for Finn T75 HydroSeeder

Related product manuals